開閉ハンドル

製品符号:MKLY専用鍵付開閉ハンドル

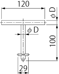
製品写真


材質および表面処理

材質:SS400
処理:電気亜鉛めっき


質量

0.2kg/本

適合製品

製品分類 製品符号
マンホール鉄蓋 MKLY

価格

製品符号 価格(円/本) 備考 図面
MKLY(呼称300〜600)専用鍵付開閉ハンドル 2,000 蓋の開閉には、2本必要です。 CAD図面ご使用願い図
MKLY(呼称750)専用鍵付開閉ハンドル 2,000 蓋の開閉には、2本必要です。 CAD図面ご使用願い図
※価格には消費税は含まれておりません。

開閉手順

@コンクリート打設養生後、枠のロックスペースに入っている養生スチロールをドライバーなどで取り除きます。

A専用鍵付開閉ハンドルを用いて蓋を枠にかぶせます。

B専用鍵付開閉ハンドルを時計回りの方向に回します。ロックの状態になります。