- ホーム
- 製品情報
- ルーフドレン関連製品
- CR
カネソウのルーフドレン情報はこちら
ルーフドレン関連製品
ステンレス製 防塵網 たて引き用ルーフドレン用
製品符号:CR
バルコニー・庇・屋上用
製品の特徴
- 枯葉や落ち葉をはじめとする、ゴミなどが雨水排水管に流入することを防ぐ、たて引き用ルーフドレン用の防塵網です。ガーデニングを行うベランダやバルコニー、屋上緑化などにご使用ください。
- 建物の近くに、大きな樹木が生えている場合にもご使用ください。
- 専用の取付クリップにより、ルーフドレンのストレーナーに簡単に固定できます。
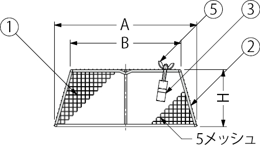
- 網は、Φ0.7×5メッシュです。
※メッシュとは
1インチ(25.4mm)の長さの間にある網目の数を示します。
例)Φ0.7×5メッシュは、線径が0.7mmで、1インチ内に網目の数が5つとなります。 
製品図面

部品構成
- 金網
材質:SUS304
- 補強棒
材質:SUS304
- 取付クリップ
材質:SUS304CSP
- −
- 蝶ナット
材質:SUS304
設計情報
- 呼称65/75は、同機種のルーフドレンの呼称65および呼称75に使用できます。
寸法表<単位:mm>
| 呼称 |
A |
B |
H |
| 50 |
112 |
85 |
59 |
| 65/75 |
147 |
120 |
59 |
| 100 |
172 |
134 |
69 |
| 125 |
202 |
172 |
67 |
| 150 |
228 |
190 |
65 |