- ホーム
 
- 製品情報
 
- ステンレス鋳鋼製ルーフドレン
 
- EDSMJ-1
 
カネソウのルーフドレン情報はこちら
ステンレス鋳鋼製ルーフドレン
たて引き用 デッキプレート打込型 差し込み式
塗膜防水用・モルタル防水用
使用場所:バルコニー中継 水はね防止型
製品符号:EDSMJ-1 受注生産品
製品写真

 
製品の特徴
- デッキプレートへの取り付けが迅速かつ正確に行えます。デッキプレート構造の建物に最適です。
 
- 降水量100mm/hに相当する「猛烈な雨」の状況下でも、ほとんど水はねが見られない、水はね防止型のルーフドレンです。
 
 
製品図面

 
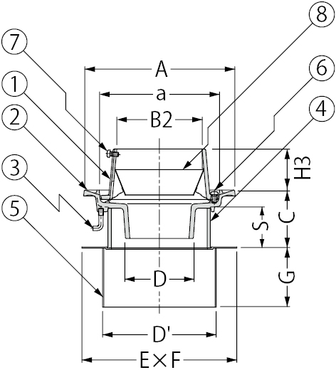
部品構成
- ストレーナー
材質:SCS13
処理:酸洗 
- 本体
材質:SCS13
処理:酸洗 
- アンカー
材質:SWRM8
処理:りん酸塩被膜 
- スペーサー
材質:硬質ポリ塩化ビニル 
- 固定金具
材質:SGHC 
- 丸小ねじ
材質:SUS304 
- 丸小ねじ
材質:SUS304 
- ロート
材質:SUS304 
 
付属部品
- 養生蓋
 
- 蝶ナット
 
- 長ねじボルト
 
- 位置決めプレート
 
- ドリルねじ
 
 
アンカー形状
- C寸法により、アンカー形状が異なります。
 

 
 
施工情報
- C寸法は、スラブ下端からルーフドレン本体の取付高さを表す寸法です。スラブ厚に対して、C寸法をご指示いただき、スペーサー部品で取付高さを調整します。
 
 
注文・発注情報
- ご注文の際はC寸法をご指示ください。
〈例〉EDSMJ-1-100 C=50 
 
寸法表<単位:mm>
| 呼称 | 
A | 
a | 
B2 | 
C | 
スペーサー | 
D | 
D' | 
E | 
F | 
G | 
H3 | 
| 規格 | 
長さS | 
| 50 | 
150 | 
107 | 
64 | 
50〜 | 
SU 75 | 
C−25 | 
45 | 
94 | 
400 | 
150 | 
80 | 
57 | 
| 75 | 
185 | 
142 | 
93 | 
50〜 | 
VU100 | 
C−25 | 
71 | 
128 | 
400 | 
184 | 
80 | 
57 | 
| 100 | 
210 | 
167 | 
118 | 
50〜 | 
VU125 | 
C−25 | 
94 | 
154 | 
400 | 
210 | 
80 | 
57 | 
| 125 | 
240 | 
197 | 
145 | 
50〜 | 
VU150 | 
C−25 | 
119 | 
179 | 
400 | 
235 | 
80 | 
57 | 
 
丸小ねじ寸法表
| 部番 | 
品名 | 
サイズ | 
数量 | 
備考 | 
| 50 | 
75 | 
100 | 
125 | 
| E | 
丸小ねじ | 
M6×12 | 
M6×12 | 
M6×12 | 
M6×12 | 
2 | 
− | 
| F | 
丸小ねじ | 
M6×12 | 
M6×12 | 
M6×12 | 
M6×12 | 
3 | 
− |