- ホーム
- 製品情報
- ステンレス鋳鋼製ルーフドレン
- EDSSP-1
カネソウのルーフドレン情報はこちら
ステンレス鋳鋼製ルーフドレン
たて引き用 デッキプレート打込型 差し込み式
アスファルト防水用・シート防水用
使用場所:屋上
製品符号:EDSSP-1 受注生産品
製品写真

製品の特徴
- デッキプレートへの取り付けが迅速かつ正確に行えます。デッキプレート構造の建物に最適です。
- 防水層との接着をより確実にするために、ルーフドレン本体に接着補助溝を設けています。
また、防水層押えには、接着補助溝の位置に合わせた突起を設けています。
※防水工法に応じた接着剤(別途)をご使用ください。

- ストレーナーの有効開口面積は、流出側に接続する排水管の断面積の1.5倍以上を確保しており、ゴミなどが詰まった場合でも排水能力の低下を防ぎます。
製品図面

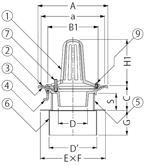
部品構成
- ストレーナー
材質:SCS13
処理:酸洗
- 防水層押え
材質:SCS13
処理:酸洗
- 本体
材質:SCS13
処理:酸洗
- アンカー
材質:SWRM8
処理:りん酸塩被膜
- スペーサー
材質:硬質ポリ塩化ビニル
- 固定金具
材質:SGHC
- ボルト
材質:SUS304
- −
- 丸小ねじ
材質:SUS304
付属部品
- 養生蓋
- 蝶ナット
- 長ねじボルト
- 位置決めプレート
- ドリルねじ
アンカー形状
- C寸法により、アンカー形状が異なります。

施工情報
- C寸法は、スラブ下端からルーフドレン本体の取付高さを表す寸法です。スラブ厚に対して、C寸法をご指示いただき、スペーサー部品で取付高さを調整します。
注文・発注情報
- ご注文の際はC寸法をご指示ください。
<例>EDSSP-1-100 C=70
寸法表<単位:mm>
| 呼称 |
A |
a |
B1 |
C |
スペーサー |
D |
D' |
E |
F |
G |
H1 |
| 規格 |
長さS |
| 50 |
165 |
145 |
102 |
50〜 |
SU 75 |
C−25 |
45 |
94 |
400 |
150 |
80 |
105 |
| 75 |
200 |
180 |
137 |
50〜 |
VU100 |
C−25 |
71 |
128 |
400 |
184 |
80 |
131 |
| 100 |
225 |
205 |
162 |
50〜 |
VU125 |
C−25 |
94 |
154 |
400 |
210 |
80 |
149 |
| 125 |
255 |
235 |
192 |
50〜 |
VU150 |
C−25 |
119 |
179 |
400 |
235 |
80 |
174 |
ボルト・丸小ねじ寸法表
| 部番 |
品名 |
サイズ |
数量 |
備考 |
| 50 |
75 |
100 |
125 |
| F |
ボルト |
M8×40 |
M8×40 |
M8×40 |
M8×40 |
3 |
六角ナット付 |
| H |
丸小ねじ |
M6×12 |
M6×12 |
M6×12 |
M6×12 |
2 |
− |