- ホーム
- 製品情報
- アルミニウム製ルーフドレン
- EHSP-1
カネソウのルーフドレン情報はこちら
アルミニウム製ルーフドレン(本体:鋳鉄製)
たて引き用 打込型 差し込み式
アスファルト防水用
シート防水用
製品符号:EHSP-1
使用場所:屋上
製品写真

製品の特徴
- ストレーナー、防水層押えをアルミニウム合金製(色:グレー)とし、防錆性・美観性を向上させた製品です。本体は鋳鉄製
(色:黒)です。
- 防水層との接着をより確実にするために、ルーフドレン本体に接着補助溝を設けています。
また、防水層押えには、接着補助溝の位置に合わせた突起を設けています。
※防水工法に応じた接着剤(別途)をご使用ください。

- ストレーナーの有効開口面積は、流出側に接続する排水管の断面積の1.5倍以上を確保しており、ゴミなどが詰まった場合でも排水能力の低下を防ぎます。
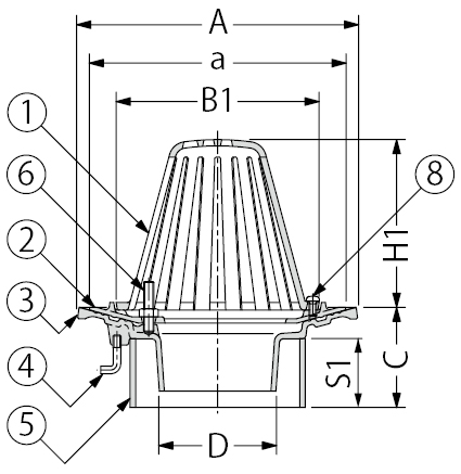
製品図面

部品構成
- ストレーナー
材質:ADC12
処理:樹脂系塗装
- 防水層押え
材質:ADC12
処理:樹脂系塗装
- 本体
材質:FC150
処理:樹脂系塗装
- アンカー
材質:SWRM8
処理:りん酸塩被膜
- スペーサー
材質:硬質ポリ塩化ビニル
- ボルト
材質:C3604B
- 丸小ねじ
材質:SUS304
付属部品
- 養生蓋
- 蝶ナット
- 長ねじボルト
- 位置決めプレート
設計情報
- ストレーナー、防水層押えをアルミニウム合金製(色:グレー)とし、防錆性・美観性を向上させた製品です。本体は鋳鉄製
(色:黒)です。
施工情報
- C寸法は、スラブ下端からルーフドレン本体の取付高さを表す寸法です。スラブ厚に対して、C寸法をご指示いただき、スペーサー部品で取付高さを調整します。
注文・発注情報
- ご注文の際はC寸法をご指示ください。
<例>EHSP-1-75 C=120
寸法表<単位:mm>
| 呼称 |
A |
a |
B1 |
C |
スペーサー |
D |
H1 |
| 規格 |
長さS1 |
| 75 |
200 |
180 |
137 |
70 〜 |
VU100 |
C−25 |
71 |
104 |
ボルト・丸子ねじ寸法表
| 部番 |
品名 |
サイズ |
数量 |
備考 |
| E |
ボルト |
M8×40 |
3 |
六角ナット付 |
| F |
丸小ねじ |
M6×12 |
2 |
− |