- ホーム
- 製品情報
- 鋳鉄製ルーフドレン
- EMA-1
カネソウのルーフドレン情報はこちら
鋳鉄製ルーフドレン
外廊下排水用 みぞ底幅120mm たて引き用 打込型 差し込み式
塗膜防水用
モルタル防水用
製品符号:EMA-1
使用場所:バルコニー、廊下、踊場
製品写真
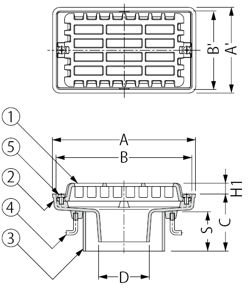
EMA-1-75 納まり図

拡大図
製品の特徴
- 角型形状でコンパクトなサイズのため排水溝にきれいに納まります。みぞ底幅120mm以上に使用できます。
- 塗膜防水・モルタル防水用のルーフドレンです。
規格対照表
| 規格名称 |
記号 |
呼称(サイズ) |
都営住宅建築工事共通詳細図集
平成28年版 |
C-22 |
75 |
製品図面
部品構成
- ストレーナー
材質:FC150
処理:樹脂系塗装
- 本体
材質:FC150
処理:樹脂系塗装
- スペーサー
材質:硬質ポリ塩化ビニル
- アンカー
材質:SWRM8
処理:りん酸塩被膜
- 丸小ねじ
材質:C2700W
付属部品
- 養生シート
- 蝶ナット
- 長ねじボルト
- 固定プレート
- 位置決めプレート
- ズレ止めパイプ
施工情報
- C寸法は、スラブ下端からルーフドレン本体の取付高さを表す寸法です。スラブ厚に対して、C寸法をご指示いただき、スペーサー部品で取付高さを調整します。
注文・発注情報
- ご注文の際はC寸法をご指示ください。
<例>EMA-1-75 C=80
寸法表<単位:mm>
| 呼称 |
A |
A' |
B |
B' |
C |
スペーサー規格 |
スペーサー長さS |
D |
H1 |
| 50 |
200 |
120 |
190 |
110 |
80〜 |
SU75 |
C-25 |
45 |
15 |
| 75 |
200 |
120 |
190 |
110 |
80〜 |
VU100 |
C-25 |
71 |
15 |
丸小ねじ寸法表
| 部番 |
品名 |
サイズ50 |
サイズ75 |
数量 |
備考 |
| D |
丸小ねじ |
M6×10 |
M6×10 |
2 |
− |