
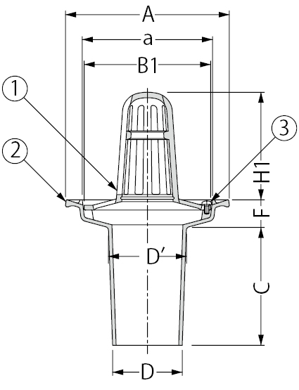
| 呼称 | A | a | B1 | C | D | D' | F | H1 |
|---|---|---|---|---|---|---|---|---|
| 50 | 150 | 107 | 102 | 136 | 42 | 51 | 35 | 94 |
| 65 | 185 | 142 | 137 | 136 | 58 | 67 | 35 | 120 |
| 75 | 185 | 142 | 137 | 140 | 67 | 77 | 35 | 120 |
| 100 | 210 | 167 | 162 | 150 | 90 | 100 | 35 | 138 |
| 125 | 240 | 197 | 192 | 150 | 114 | 125 | 35 | 163 |
| 150 | 265 | 222 | 217 | 150 | 135 | 146 | 35 | 182 |
| 部番 | 品名 | サイズ50 | サイズ65 | サイズ75 | サイズ100 | サイズ125 | サイズ150 | 数量 | 備考 |
|---|---|---|---|---|---|---|---|---|---|
| B | 丸小ねじ | M6×10 | M6×12 | M6×12 | M6×12 | M6×12 | M6×12 | 2 | − |