


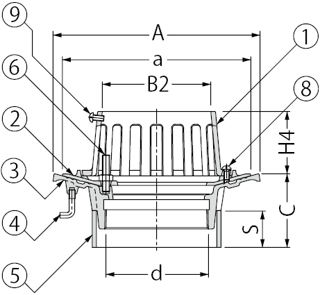
| 呼称 | A | a | B2 | C | スペーサー | ねじ径d | H4 | |
|---|---|---|---|---|---|---|---|---|
| 規格 | 長さS | |||||||
| 50 | 165 | 145 | 64 | 70〜 | SU 75 | C−40 | Rc2 | 68 |
| 75 | 200 | 180 | 93 | 70〜 | VU100 | C−40 | Rc3 | 68 |
| 100 | 225 | 205 | 118 | 70〜 | VU125 | C−40 | Rc4 | 68 |
| 125 | 255 | 235 | 145 | 70〜 | VU150 | C−40 | Rc5 | 68 |
| 150 | 280 | 260 | 170 | 70〜 | LP180 | C−40 | Rc6 | 68 |
| 部番 | 品名 | サイズ | 数量 | 備考 | ||||
|---|---|---|---|---|---|---|---|---|
| 50 | 75 | 100 | 125 | 150 | ||||
| E | ボルト | M8×40 | M8×40 | M8×40 | M8×40 | M8×40 | 3 | 六角ナット付 |
| G | 丸小ねじ | M6×12 | M6×12 | M6×12 | M6×12 | M6×12 | 2 | − |
| H | 丸小ねじ | M6×12 | M6×12 | M6×12 | M6×12 | M6×12 | 3 | − |