

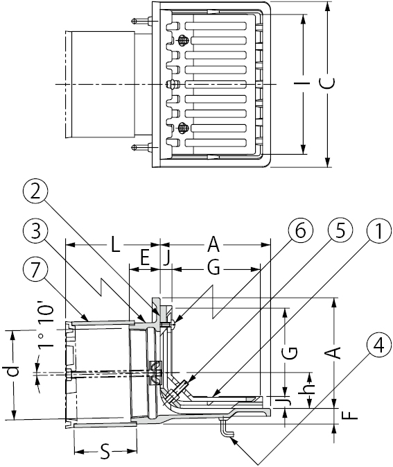
| 呼称 | A | C | ねじ径d | E | F | L | スペーサー | G | h | I | J | |
|---|---|---|---|---|---|---|---|---|---|---|---|---|
| 規格 | 長さS | |||||||||||
| 50 | 100 | 160 | Rc2 | 32 | 20 | 80〜 | VU 65 | L−35 | 72 | 18 | 127 | 15 |
| 75 | 115 | 180 | Rc3 | 35 | 20 | 80〜 | SU100 | L−35 | 87 | 31 | 147 | 15 |
| 100 | 140 | 210 | Rc4 | 40 | 20 | 80〜 | SU125 | L−40 | 112 | 44 | 177 | 15 |
| 125 | 165 | 240 | Rc5 | 44 | 22 | 80〜 | LP150 | L−50 | 136 | 56 | 205 | 15 |
| 150 | 190 | 260 | Rc6 | 50 | 26 | 80〜 | LP180 | L−55 | 161 | 67 | 225 | 15 |
| 部番 | 品名 | サイズ | 数量 | 備考 | ||||
|---|---|---|---|---|---|---|---|---|
| 50 | 75 | 100 | 125 | 150 | ||||
| D | ボルト | M8×50 | M8×50 | M8×50 | M8×50 | M10×50 | 2 | 六角ナット付 |
| E | 丸小ねじ | M6×12 | M6×12 | M6×12 | M6×12 | M6×12 | 1 | − |