


| 呼称 | a | b | c | r | e |
|---|---|---|---|---|---|
| 75 | 255 | 145 | 114 | R57 | 114 |
| 100 | 285 | 170 | 140 | R70 | 140 |
| 呼称 | f | g | j | k |
|---|---|---|---|---|
| 75 | 42 | 140 | 80 | 12 |
| 100 | 55 | 170 | 110 | 12 |
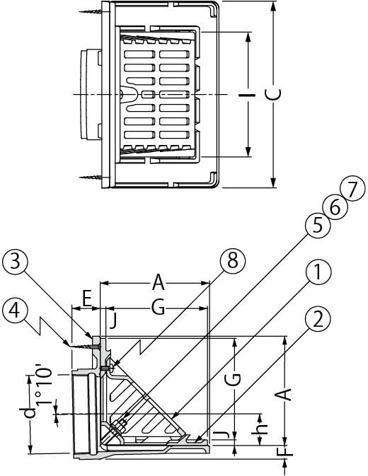
| 呼称 | A | C | ねじ径d | E | F | G | h | I | J |
|---|---|---|---|---|---|---|---|---|---|
| 75 | 130 | 235 | Rc3 | 35 | 20 | 119 | 31 | 147 | 8 |
| 100 | 155 | 265 | Rc4 | 40 | 20 | 144 | 44 | 177 | 8 |
| 部番 | 品名 | サイズ75 | サイズ100 | 数量 | 備考 |
|---|---|---|---|---|---|
| C | 木ねじ | 4.1×38 | 4.1×38 | 2 | − |
| D | ボルト | M10×70 | M10×70 | 2 | 六角ナット付 |
| E | ばね座金 | 呼び10 | 呼び10 | 2 | − |
| F | 平座金 | 呼び10 | 呼び10 | 2 | 丸並 |
| G | 丸小ねじ | M6×12 | M6×12 | 1 | − |