
充填用(充填深さ:30mm)




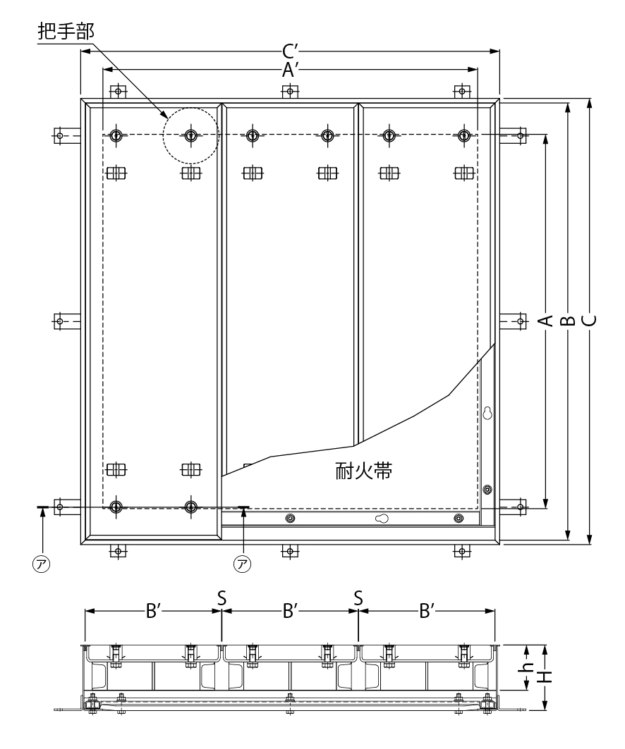
| 86 | A | A' | B | B' | C | C' | h | H | S | 蓋枚数 | 質量(kg) | 床仕上材充填時の 蓋質量 (約・kg/枚) |
|---|---|---|---|---|---|---|---|---|---|---|---|---|
| 700-L | 700 | 700 | 866 | 395.5 | 892 | 818 | 111 | 165.2 | 1 | 2 | 108 | 69 |
| 800-L | 800 | 800 | 966 | 445.5 | 992 | 918 | 111 | 165.2 | 1 | 2 | 132 | 86 |
| 900-L | 900 | 900 | 1066 | 330 | 1092 | 1018 | 111 | 165.2 | 1 | 3 | 166 | 73 |
| 1000-L | 1000 | 1000 | 1166 | 363 | 1192 | 1118 | 121 | 175.2 | 1.5 | 3 | 211 | 93 |
| 600×1200-L | 600 | 1200 | 766 | 430 | 792 | 1318 | 111 | 165.2 | 1 | 3 | 156 | 68 |