床排水金物
防水層用(アスファルト防水)椀型洗濯機トラップ
製品符号:T5W-B
製品写真

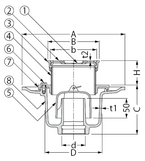
製品図面

椀詳細寸法<単位:mm>
| 呼称 |
W |
h1 |
h2 |
h3 |
| 50(2吋) |
Φ90 |
68 |
14 |
3.5 |
部品構成
- ホースロ
材質:クロロプレンゴム
- ストレーナー
材質:CAC202
処理:ニッケルめっき
- 金具枠
材質:CAC202
処理:ニッケルめっき
- 調節管
材質:SGP
処理:電気亜鉛めっき
- 椀
材質:FC150
処理:樹脂系塗装
- ボルト
材質:SS400
処理:電気亜鉛めっき
- 座板
材質:FC150
処理:樹脂系塗装
- 本体
材質:FC150
処理:樹脂系塗装
注文・発注情報
- 適用洗濯機ホースは、外径36mm以下のものが使用できます。
- 調節管は長さ70mmです。
寸法表<単位:mm>
| 呼称 |
A |
B |
b |
C |
D |
ねじ径d |
H |
t1 |
t2 |
| 50(2吋) |
260 |
130 |
117 |
125 |
136 |
Rc2 |
27〜80 |
5.5 |
3 |
※Rcは管用テーパめねじ(JIS B 0203)を表します。