- ホーム
- 製品情報
- 鋳鉄製ルーフドレン
- WDMP-1
カネソウのルーフドレン情報はこちら
鋳鉄製ルーフドレン
防水層塗掛け幅25mm たて引き用 デッキプレート打込型 差し込み式
塗膜防水用
モルタル防水用
製品符号:WDMP-1
使用場所:屋上
製品写真

製品の特徴
- デッキプレートへの取り付けが迅速かつ正確に行えます。デッキプレート構造の建物に最適です。
- 防水層塗掛け幅25mmです。
- WMP-1のデッキプレート打込型です。
製品図面

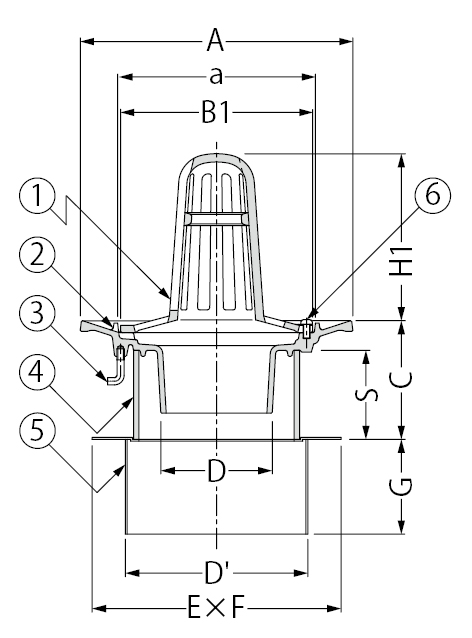
部品構成
- ストレーナー
材質:FC150
処理:樹脂系塗装
- 本体
材質:FC150
処理:樹脂系塗装
- アンカー
材質:SWRM8
処理:りん酸塩被膜
- スペーサー
材質:硬質ポリ塩化ビニル
- 固定金具
材質:SGHC
- 丸小ねじ
材質:C2700W
付属部品
- 養生蓋
- 蝶ナット
- 長ねじボルト
- 位置決めプレート
- ドリルねじ
アンカー形状
- C寸法により、アンカー形状が異なります。

施工情報
- C寸法は、スラブ下端からルーフドレン本体の取付高さを表す寸法です。スラブ厚に対して、C寸法をご指示いただき、スペーサー部品で取付高さを調整します。
注文・発注情報
- ご注文の際はC寸法(C=40〜)をご指示ください。
<例>WDMP-1-100 C=70
寸法表<単位:mm>
| 呼称 |
A |
a |
B1 |
C |
スペーサー規格 |
スペーサー長さS |
D |
D' |
E |
F |
G |
H1 |
| 50 |
170 |
107 |
102 |
40〜 |
SU 75 |
C−25 |
45 |
94 |
400 |
150 |
80 |
97 |
| 75 |
200 |
142 |
137 |
40〜 |
VU100 |
C−25 |
71 |
128 |
400 |
184 |
80 |
123 |
| 100 |
230 |
167 |
162 |
40〜 |
VU125 |
C−25 |
94 |
154 |
400 |
210 |
80 |
141 |
丸小ねじ寸法表
| 部番 |
品名 |
サイズ50 |
サイズ75 |
サイズ100 |
数量 |
備考 |
| E |
丸小ねじ |
M6×12 |
M6×12 |
M6×12 |
2 |
− |