

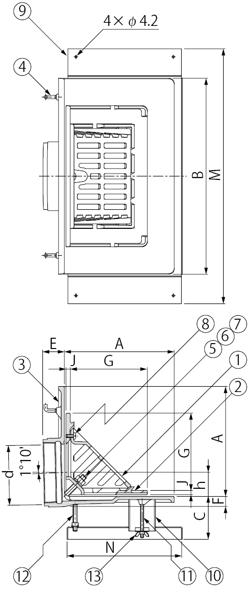
| 呼称 | A | B | C | ねじ径d※ | E | F | G | h | J | M | N |
|---|---|---|---|---|---|---|---|---|---|---|---|
| 75 | 180 | 335 | 60〜 | Rc3 | 35 | 20 | 119 | 31 | 8 | 445 | 190 |
| 100 | 205 | 365 | 60〜 | Rc4 | 40 | 20 | 144 | 44 | 8 | 475 | 215 |
| 125 | 229 | 391 | 60〜 | Rc5 | 44 | 31 | 166 | 49 | 10 | 509 | 242 |
| 150 | 254 | 409 | 60〜 | Rc6 | 50 | 31 | 190.5 | 64 | 10.5 | 533 | 266 |
| 200 | 307 | 455 | 60〜 | PT8 | 68 | 32 | 247.5 | 90 | 12.5 | 533 | 266 |
| 部番 | 品名 | サイズ75 | サイズ100 | サイズ125 | サイズ150 | サイズ200 | 数量 | 備考 |
|---|---|---|---|---|---|---|---|---|
| D | ボルト | M10×70 | M10×70 | M10×70 | M10×70 | M10×70 | 2 | 六角ナット付 |
| E | ばね座金 | 呼び10 | 呼び10 | 呼び10 | 呼び10 | 呼び10 | 2 | − |
| F | 平座金 | 呼び10 | 呼び10 | 呼び10 | 呼び10 | 呼び10 | 2 | 丸並 |
| G | 丸小ねじ | M6×12 | M6×12 | M6×12 | M6×12 | M6×16 | 1(2) | − |