ホーム
ワンポイント情報
フロアーハッチ
ボルト固定式のロックボルトの種類について
製品分類:フロアーハッチ
分類番号:P190118
更新日:2021.03.01
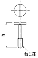
フロアーハッチのロックボルトの種類については下記の通りです。
ロックボルトのトップの形状は2種類ですが、機種によって長さやねじ径が異なります。
機種
形状
ボルト長さ(h)
ねじ径
(参考)蓋高さ
MSEM-M
61
M12
42
MSEM-P
MSXM-M
41.5
M8
27
MSXM-P
29.5
15
MSXL-M
MSRL-M
41.5
M8
27
MSXL-P
29.5
15
MSELW-M
61
M12
42