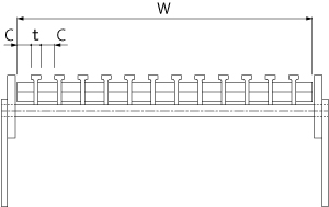
カネソウのフロアルーバーは、受枠との納まりをきれいに見せるためルーバー両端のクロスバーをC寸法と同じだけ突出させております。

これにより、フロアルーバーのすきまの計算式は

となります。
- W:ルーバー幅
- N:メインバー本数
- t:メインバー天端厚さ
LQ-15、LV-15:5mm
ALV-15:4mm
W寸法が標準品以外の場合にご活用ください。
また、端部用、中間用をご利用の場合には、メインバー本数を偶数本としていただきますようお願いします。
例)LQ-15 W=120、N=10本の場合
※製品ページはこちら:
LQ-15・
LV-15・
ALV-15A