ホーム
ワンポイント情報
EXジョイント
外壁面に凹凸がある場合のEXP.Jについて
製品分類:EXジョイント
分類番号:P180109
更新日:―
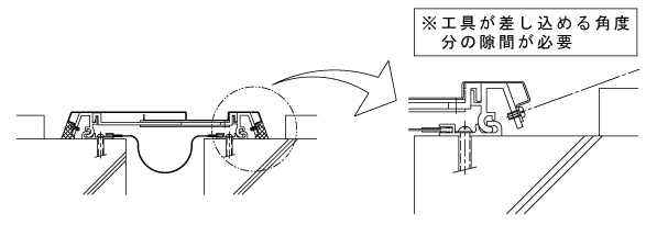
外壁面に凹凸がある場合は、外壁面の凹凸部より雨水が建物内に流れ込み、漏水を招く危険性があるため、凹凸部をすきまより逃がしてEXジョイントを敷設する必要があります。
・SX(AX)22
・SX(AX)22A
・SX(AX)22AE