- ホーム
- 製品情報
- HACCP対応 サニタリートラフ
- DRY
カネソウのHACCP対応製品はこちら
サニタリートラフ
HACCP対応 ドライ厨房用サニタリートラフ(ステンレス製) 排水溝(直線)
製品符号:DRY
製品写真

製品の特徴
- ドライ厨房(非汚染作業区域)に最適なサニタリートラフです。オールステンレス製で、雑菌の繁殖を防ぎます。
- 基本的に、床に水を流さないため、スリムなスリット形状のみぞのみの設置となります。
- 1/100の水勾配が付いており、排水がスムーズです。
- 4mまで一体成形のため、設置時に組立作業が不要で、工期短縮に効果的です。
- みぞ蓋が不要な形状で、コストを削減できます。
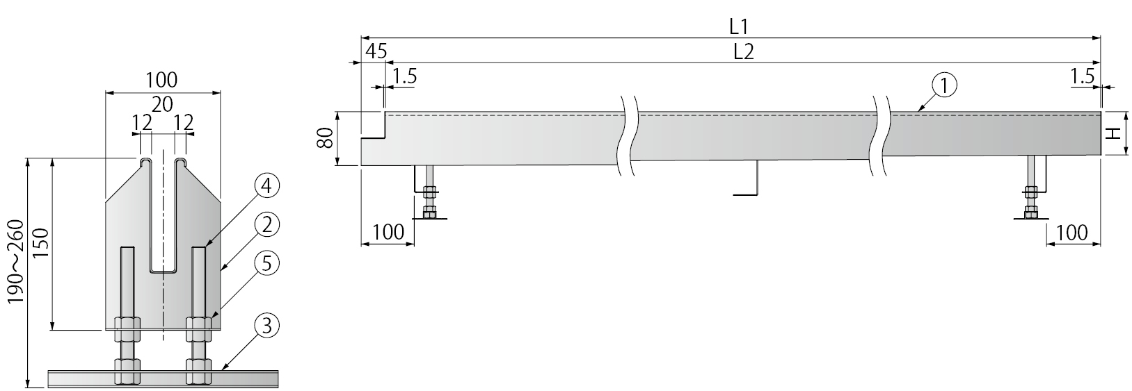
製品図面
部品構成
- 本体
材質:SUS304 t=1.5
- 補強プレート
材質:SUS304
- レベル調整架台
材質:A6063S
- レベル調整ボルト
材質:SS400
処理:電気亜鉛めっき
- レベル調整ナット
材質:SS400
処理:電気亜鉛めっき
付属部品
- レベル調整架台
- レベル調整ボルト
- レベル調整ナット
設計情報
- L1が4000以上の場合も製作可能です。
ただし現場にてボルトを連結する仕様となります。

注文・発注情報
- 標準品以外も製作いたします。仕様、寸法等をご指示ください。
寸法表<単位:mm>
| 製品符号−呼称 |
L1 |
L2 |
水勾配 |
H |
| DRY-20 |
2000 |
1955 |
1/100 |
60 |
| DRY-30 |
3000 |
2955 |
1/100 |
50 |
| DRY-40 |
4000 |
3955 |
1/100 |
40 |