- ホーム
 
- 製品情報
 
- アルミニウム製ルーフドレン
 
- EHSR-1
 
カネソウのルーフドレン情報はこちら
アルミニウム製ルーフドレン(本体:鋳鉄製)
たて引き用 打込型 差し込み式
アスファルト防水用
シート防水用
製品符号:EHSR-1
使用場所:バルコニー・庇・屋上
製品写真

 
製品の特徴
- ストレーナー、防水層押えをアルミニウム合金製(色:グレー)とし、防錆性・美観性を向上させた製品です。本体は鋳鉄製
(色:黒)です。
 
- 防水層との接着をより確実にするために、ルーフドレン本体に接着補助溝を設けています。
また、防水層押えには、接着補助溝の位置に合わせた突起を設けています。
※防水工法に応じた接着剤(別途)をご使用ください。

 
- バルコニー等でお使いいただけるよう、ストレーナーを背の低い形状としています。
 
 
製品図面

 
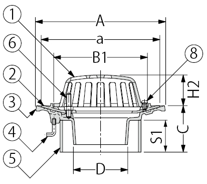
部品構成
- ストレーナー
材質:ADC12
処理:樹脂系塗装 
- 防水層押え
材質:ADC12
処理:樹脂系塗装 
- 本体
材質:FC150
処理:樹脂系塗装 
- アンカー
材質:SWRM8
処理:りん酸塩被膜 
- スペーサー
材質:硬質ポリ塩化ビニル 
- ボルト
材質:C3604B 
- 丸小ねじ
材質:SUS304 
 
付属部品
- 養生蓋
 
- 蝶ナット
 
- 長ねじボルト
 
- 位置決めプレート
 
 
設計情報
- ストレーナー、防水層押えをアルミニウム合金製(色:グレー)とし、防錆性・美観性を向上させた製品です。本体は鋳鉄製(色:黒)です。
 
 
施工情報
- C寸法は、スラブ下端からルーフドレン本体の取付高さを表す寸法です。スラブ厚に対して、C寸法をご指示いただき、スペーサー部品で取付高さを調整します。
 
 
注文・発注情報
- ご注文の際はC寸法をご指示ください。
<例>EHSR-1-75 C=120 
 
寸法表<単位:mm>
| 呼称 | 
A | 
a | 
B1 | 
C | 
スペーサー | 
D | 
H2 | 
| 規格 | 
長さS1 | 
| 75 | 
200 | 
180 | 
137 | 
70 〜 | 
VU100 | 
C−25 | 
71 | 
43 | 
 
ボルト・丸小ねじ寸法表
| 部番 | 
品名 | 
サイズ | 
数量 | 
備考 | 
| E | 
ボルト | 
M8×40 | 
3 | 
六角ナット付 | 
| F | 
丸小ねじ | 
M6×12 | 
2 | 
− |