カネソウのルーフドレン情報はこちら

アルミニウム製ルーフドレン(本体:鋳鉄製)

よこ引き用 打込型 ねじ込み式

塗膜防水用
モルタル防水用
製品符号:EHXG
使用場所:屋上

製品写真

EHXG

製品の特徴

  • ストレーナー、防水層押えをアルミニウム合金製(色:グレー)とし、防錆性・美観性を向上させた製品です。本体は鋳鉄製 (色:黒)です。

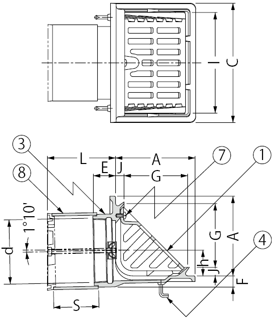
製品図面

EHXG

部品構成

  1. ストレーナー
    材質:ADC12
    処理:樹脂系塗装
  2. 本体
    材質:FC150
    処理:樹脂系塗装
  3. アンカー
    材質:SWRM8
    処理:りん酸塩被膜
  4. 丸小ねじ
    材質:C2700W
  5. スペーサー
    材質:硬質ポリ塩化ビニル

付属部品

  1. 養生シート
  2. 蝶ナット
  3. 固定プレート
  4. 長ねじボルト
  5. 位置決めプレート
  6. サカメ釘

設計情報

  1. レベル調節機能付タイプも設定しております。

注文・発注情報

  1. ご注文の際はL寸法(パラペット厚)をご指示ください。
    <例>EHXG-75 L=150

寸法表<単位:mm>

呼称 A C ねじ径d E F L スペーサー G h I J
規格 長さS
50 100 160 Rc2 32 20 80〜 VU65 L−35 72 18 127 15
75 115 180 Rc3 35 20 80〜 SU100 L−35 87 31 147 15
100 140 210 Rc4 40 20 80〜 SU125 L−40 112 44 177 15
※Rcは管用テーパめねじ(JIS B 0203)を表します。

丸小ねじ寸法表

部番 品名 サイズ 数量 備考
50 75 100
F 丸小ねじ M6×12 M6×12 M6×12 1

価格

製品符号−呼称 価格(円/個) 図面・施工要領書等
L=80〜200 L=201〜500
EHXG-50 10,200 10,700 cad図面dxf図面DWG図面ご使用願い図施工要領書施工要領書
EHXG-75 12,000 12,500 cad図面dxf図面DWG図面ご使用願い図施工要領書施工要領書
EHXG-100 13,400 13,900 cad図面dxf図面DWG図面ご使用願い図施工要領書施工要領書
※価格には消費税は含まれておりません。