カネソウのルーフドレン情報はこちら
鋳鉄製ルーフドレン
PC工場向 たて引き用 差し込み式
塗膜防水用
モルタル防水用
製品符号:EPMJ-1
使用場所:バルコニー中継
水はね防止型
製品写真

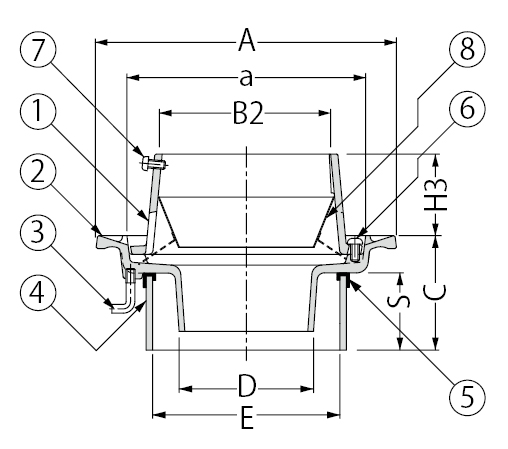
製品図面

部品構成
- ストレーナー
材質:FC150
処理:樹脂系塗装
- 本体
材質:FC150
処理:樹脂系塗装
- アンカー
材質:SWRM8
処理:りん酸塩皮膜
- スペーサー
材質:硬質ポリ塩化ビニル
- パッキン
材質:クロロプレンゴム
- 丸小ねじ
材質:C2700W
- 丸小ねじ
材質:C2700W
- ロート
材質:SUS304
※付属部品は養生シートと養生パイプです。
現場打ち用ではありません。
注文・発注情報
- ご注文の際はC寸法をご指示ください。
<例>EPMJ-1-100 C=90
寸法表<単位:mm>
| 呼称 |
A |
a |
B2 |
C |
D |
E |
H3 |
| 50 |
150 |
107 |
64 |
70〜 |
45 |
75 |
57 |
| 75 |
185 |
142 |
93 |
70〜 |
71 |
107 |
57 |
| 100 |
210 |
167 |
118 |
70〜 |
94 |
131 |
57 |
丸小ねじ寸法表
| 部番 |
品名 |
サイズ50 |
サイズ75 |
サイズ100 |
数量 |
備考 |
| E |
丸小ねじ |
M6×10 |
M6×12 |
M6×12 |
2 |
− |
| F |
丸小ねじ |
M6×12 |
M6×12 |
M6×12 |
3 |
− |