- ホーム
- 製品情報
- 鋳鉄製ルーフドレン
- KWB-M
カネソウのルーフドレン情報はこちら
ルーフドレン
鋳鉄製 アルミ鋳物製ストレーナー付 たて引き用 木付け用 差し込み式
シート防水用
製品符号:KWB-M
使用場所:バルコニー、庇、屋上
製品写真(※写真はグリーンです。)
KWB-50/65M 木付け用 納まり図

拡大図
製品の特徴
- 木付け用のルーフドレンです。
- 耐水合板の厚さ(12mm)と、ルーフドレン本体外周の高さを合わせることで、防水層がきれいに納まり、漏水事故が起こりにくい形状としています。
- 防水シートを押える機能の付いたストレーナーです。ストレーナーには、ナイロンコーティングが施してあり、耐食性に優れています。
- ストレーナーは、アルミ鋳物製で、グリーン(標準色)、黒、グレーの3色を用意しています。
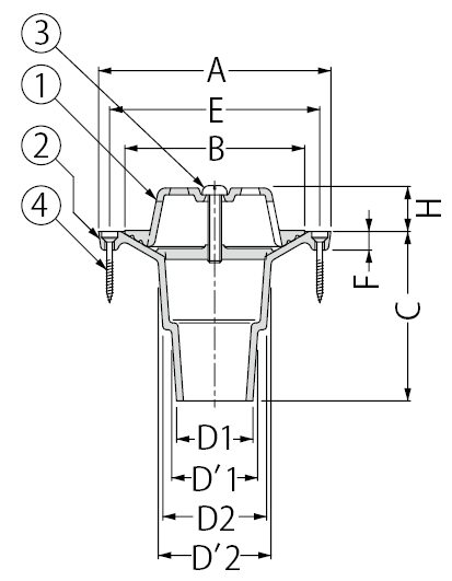
製品図面

部品構成
- ストレーナー
材質:AC4C(呼称50/65)
材質:AC2B(呼称75/100)
処理:ナイロンコーティング
- 本体
材質:FC150
処理:樹脂系塗装
- 丸小ねじ
材質:SUS304
- 木ねじ
材質:SUS304
木下地加工寸法<単位:mm>

| 呼称 |
d1 |
d2 |
| 50/65M |
160 |
95 |
| 75/100M |
190 |
135 |
注文・発注情報
- ご注文の際は下記要領でご指示ください。
<例>KWB-50/65M
ストレーナーの色はグリーンです。黒・グレーの場合はご指示ください。
寸法表<単位:mm>
| 呼称 |
A |
B |
C |
VP・VU・SU管兼用 |
E |
F |
H |
| D1 |
D'1 |
D2 |
D'2 |
| 50/65M |
137 |
106 |
100 |
45 |
51 |
61 |
67 |
120 |
11 |
25 |
| 75/100M |
170 |
139 |
100 |
67 |
77 |
87 |
100 |
157 |
11 |
35 |
丸小ねじ・木ねじ寸法表
| 部番 |
品名 |
サイズ50/65 |
サイズ75/100 |
数量 |
備考 |
| B |
丸小ねじ |
M8×50 |
M8×50 |
1 |
− |
| C |
木ねじ |
4.1×38 |
4.1×38 |
4 |
− |