- ホーム
- 製品情報
- 
カラー舗装用鉄蓋(化粧用鉄蓋)
- MKSW-D
カネソウのカラー舗装用鉄蓋情報はこちら
製品写真

 
製品の特徴
- 二重蓋構造の密閉形のカラー舗装用鉄蓋です。中蓋により、密閉性を確保しています。
- 蓄熱槽など保温を必要とする場合にご使用ください。
- 充填深さは40mmで、厚さ35mmまでの舗装材を充填できます。
- 総重量2,000kgfまでの車両の通行が可能です。
- 100角、200角タイルの目地割に合致します。
- 目地部は、耐久性・耐候性・美観に優れたステンレス製です。
- 受枠に排水穴が設けてあり、排水管を接続することで受枠に浸入した水を排水できます。
 
製品図面

 
アンカーボルト取付寸法
 
 
施錠部詳細
 
 
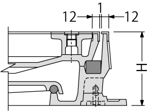
目地幅
 
 
把手部寸法
 
 
排水管の接続
 
 
部品構成
- 蓋
 材質:FC200
 処理:樹脂系塗装
- 目地
 材質:SUS304
- キャップ
 材質:SCS13
- パッキン
 材質:クロロプレンゴム
- 化粧プレート
 材質:SUS304
- 把手ボックス
 材質:FC200
 処理:樹脂系塗装
- 中蓋
 材質:FC200
 処理:樹脂系塗装
- 断熱材
 材質:ポリウレタンフォーム
- カバー
 材質:SPHC
 処理:電気亜鉛めっき
- 中蓋把手
 材質:SS400
 処理:電気亜鉛めっき
- 南京錠(40mm)
 材質:CAC202
- ロックキャップ
 材質:FC200
 処理:樹脂系塗装
- パッキン
 材質:クロロプレンゴム
- パッキン
 材質:エチレンプロピレンゴム
- 枠
 材質:FC200
 処理:樹脂系塗装
- アンカー
 材質:SS400
 処理:電気亜鉛めっき
- 六角ボルト
 材質:SUS304
- ボックススパナ
 材質:SPHC
 処理:電気亜鉛めっき
 
設計情報
- 中蓋は南京錠により施錠できます。
- 南京錠に指定等がある場合は、指定内容をご指示ください。
- ステンレス製カバーも製作可能です。
 
注文・発注情報
- ご注文の際は、開閉ハンドルの有無をご指示ください。
 <例>
 MKSW-D-6080・ハンドル付
 MKSW-D-6080・ハンドルなし
 
寸法表<単位:mm>
| 呼称 | A | a | B | C | D | H | h1 | h2 | t | L1 | L2 | 把手数 | 
| 6080 | 600 | 575 | 766 | 850 | 792 | 120 | 40 | 40 | 7.5 | 540 | 818 | 4 | 
 
質量・破壊荷重・適用荷重<加重体:φ150>
| 呼称 | 質量(kg) | 舗装材充填時の 蓋質量(約・kg)
 | 中蓋質量(kg) | 破壊荷重 | 適用荷重 | 
| 6080 | 129 | 110 | 20 | 20kN以上 | T-2 |