カネソウのカラー舗装用鉄蓋情報はこちら
カラー舗装用鉄蓋(化粧用鉄蓋)
打込型化粧マンホール鉄蓋
製品符号:RSV-11
製品写真

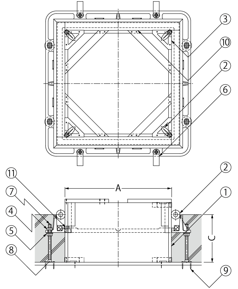
製品図面

部品構成
- 型枠
材質:合板
- 養生材
材質:ポリエチレン
- コーナー金具
材質:SPHC
処理:電気亜鉛めっき
- 六角ナット
材質:SS400
処理:電気亜鉛めっき
- 平座金
材質:SS400
処理:電気亜鉛めっき
- アンカー
材質:SPHC
処理:電気亜鉛めっき
- ボルト
材質:SS400
処理:電気亜鉛めっき
- 固定プレート
材質:SS400
処理:電気亜鉛めっき
- 固定釘
材質:SS400
- 型枠補強材
材質:木
施工情報
- 化粧マンホール鉄蓋をスラブコンクリートと同時に打設でき、施工が素早く、簡単に行えます。
注文・発注情報
- 打込金具RSVはカラー舗装用鉄蓋とのセット販売となります。カラー舗装用鉄蓋の詳細寸法につきましては、各機種の掲載ページをご覧ください。
- ご注文の際は「打込型」と鉄蓋および打込金具の製品符号、C寸法(スラブ厚)をご指示ください。
<例>
打込型MRKS-450
RSV-11-450 C=120
寸法表<単位:mm>
| 呼称 |
A |
C |
| 450 |
407 |
120 |
150 |
180 |
200 |
250 |
| 600 |
557 |
120 |
150 |
180 |
200 |
250 |
価格
| 製品符号−呼称 |
価格(円/組) |
図面・施工要領書等 |
| C=120〜200 |
C=201〜250 |
| RSV-11-450 |
21,900 |
24,100 |
|
| RSV-11-600 |
25,800 |
29,200 |
|
※価格には消費税は含まれておりません。