
※写真のブロックは含まれません。



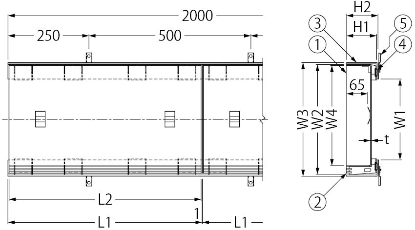
| みぞ幅 | 呼称 | W1 | W2 | W3 | W4 | L1 | L2 | H1 | H2 | t | 開口面積(mm2) | |
|---|---|---|---|---|---|---|---|---|---|---|---|---|
| P=10 | P=15 | |||||||||||
| 150 | 2560 | 150 | 240 | 252 | 210 | 599 | 593 | 95 | 99 | 3 | 10,694 | 13,066 |
| 200 | 3060 | 200 | 290 | 302 | 260 | 599 | 593 | 95 | 99 | 3 | 10,694 | 13,066 |
| 250 | 3560 | 250 | 340 | 352 | 310 | 599 | 593 | 95 | 99 | 3 | 10,694 | 13,066 |
| 300 | 4060 | 300 | 390 | 402 | 360 | 599 | 593 | 95 | 99 | 3 | 10,694 | 13,066 |
| 呼称 | 蓋質量(kg) | 舗装材充填時の 蓋質量(約・kg) |
|---|---|---|
| 2560 | 7.8 | 27 |
| 3060 | 8.6 | 34 |
| 3560 | 9.5 | 40 |
| 4060 | 10.4 | 46 |
| みぞ幅 | 製品符号 | 呼称 | P=10 | P=15 | ||
|---|---|---|---|---|---|---|
| 価格(円/m) | 図面・施工要領書等 | 価格(円/m) | 図面・施工要領書等 | |||
| 150 | SSBHM-M | 2560 | 71,700 | ![]() ![]() ![]() ![]() |
70,200 | ![]() ![]() ![]() ![]() |
| 200 | SSBHM-M | 3060 | 79,500 | ![]() ![]() ![]() ![]() |
77,500 | ![]() ![]() ![]() ![]() |
| 250 | SSBHM-M | 3560 | 85,600 | ![]() ![]() ![]() ![]() |
83,600 | ![]() ![]() ![]() ![]() |
| 300 | SSBHM-M | 4060 | 93,700 | ![]() ![]() ![]() ![]() |
92,200 | ![]() ![]() ![]() ![]() |
| 製品符号 | 価格(円/m) | コーナー加工費 (円/直角1ヶ所当り) |
エンドプレート加工費 (円/片側1ヶ所当り) |
|---|---|---|---|
| ステンレス製受枠 クッションなし TL95 | 38,400 | 2,500 | 10,600 |