カネソウのスリットみぞ蓋シリーズ情報はこちら
カラー舗装用みぞ蓋
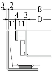
タイル用 充填深さ30mm 集水桝用 目地すきま6mm/11mm クッション付ステンレス製蓋
適用荷重:歩行用(5.0kN/m
2)
カラー舗装用みぞ蓋の強度基準はこちらをご覧ください。
製品符号:SSYW-M
目地すきま6mm(P=10)/ 目地すきま11mm(P=15)
製品写真

※写真のタイルは含まれません。
製品の特徴
- 舗装材を充填できるオールステンレスの集水桝用排水みぞ蓋です。
- スリット排水目地のすきまは6mm(P=10)と11mm(P=15)の2タイプで、排水口を意識せずに通行できます。
- 蓋裏にクッションが付いており、ガタツキ、騒音を防止します。
- 目地部に凹凸を施した滑り止め模様付や桝内径350用も製作可能です。
- 強度は歩行用で、車両の通行のない5.0kN/uまでの荷重がかかる場所に使用できます。
製品図面

開口寸法
目地すきま6mm(P=10)
目地すきま11mm(P=15)
部品構成
- 蓋
材質:SUS304
- 目地
材質:SUS304
- 受枠
材質:SUS304
- クッション
材質:クロロプレンゴム
- アンカー
材質:SECC
注文・発注情報
- 桝内径350用も製作可能です。
- ご注文の際は、目地ピッチをご指示ください。
<例>
SSYW-M-450 P=10
SSYW-M-450 P=15
寸法表<単位:mm>
| 桝内径 |
呼称 |
A |
B |
C |
D |
E |
H1 |
H2 |
h |
t |
開口面積(mm2) |
| P=10 |
P=15 |
| 300×300 |
300 |
300 |
390 |
400 |
336 |
384 |
60 |
63 |
30 |
3 |
13,824 |
16,896 |
| 450×450 |
450 |
450 |
540 |
550 |
486 |
534 |
60 |
63 |
30 |
3 |
19,224 |
23,496 |
| 500×500 |
500 |
500 |
590 |
600 |
536 |
584 |
60 |
63 |
30 |
3 |
21,024 |
25,696 |
| 600×600 |
600 |
600 |
690 |
700 |
636 |
684 |
60 |
63 |
30 |
3 |
24,624 |
30,096 |
質量
| 呼称 |
蓋質量(kg) |
舗装材充填時の蓋質量(約・kg) |
受枠質量(kg) |
| 300 |
5.5 |
18 |
4 |
| 450 |
9.6 |
32 |
6 |
| 500 |
11.7 |
41 |
6.5 |
| 600 |
15.5 |
56 |
7 |