カネソウのルーフドレン情報はこちら

鋳鉄製ルーフドレン

防水層塗掛け幅25mm よこ引き用 デッキプレート打込型 ねじ込み式

塗膜防水用
立ち上がり部用打込金具付
製品符号:WDUTXT
使用場所:屋上

製品写真

WTDXT

WDUTXT 納まり図


WTXT

拡大図

製品の特徴

  • 本体形状がフラットで雨水が流れやすく、押えコンクリートのない塗膜防水に最適です。
  • ストレーナーは落ち葉や砂などで目詰まりしにくい、立体形状で広い開口部を設けています。
  • デッキプレートへの取り付けを、迅速かつ確実に行うことができます。
  • 立ち上がり部(パラペット部)用の打込金具が付属しています。

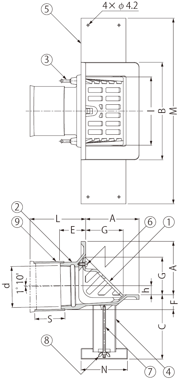
製品図面

WDTXT

部品構成

  1. ストレーナー
    材質:FC150
    処理:樹脂系塗装
  2. 本体
    材質:FC150
    処理:樹脂系塗装
  3. アンカー
    材質:SWRM8
    処理:りん酸塩被膜
  4. スペーサーA
    材質:硬質ポリ塩化ビニル
  5. 固定金具
    材質:SGHC
  6. 丸小ねじ
    材質:C2700W
  7. 長ねじボルト
    材質:SWRM8
  8. 蝶ナット
    材質:SPHC
  9. スペーサーB
    材質:硬質ポリ塩化ビニル

付属部品

  • 養生シート
  • 補助プレート
  • ドリルねじ
  • 蝶ナット
  • 固定プレート
  • 長ねじボルト
  • 位置決めプレート
  • サカメ釘

注文・発注情報

  1. ご注文の際はC寸法をご指示ください。
    <例>WDUTXT-75 C=130 L=150

寸法表<単位:mm>

呼称 A B C ねじ径d※ E F L スペーサーB G h I M N
規格 長さS
75 115 210 70〜 Rc3 55 32 80〜 SU100 L-55 81 20 147 400 100
100 140 240 70〜 Rc4 55 32 80〜 SU125 L-55 106 32 177 400 150
※Rcは管用テーパめねじ(JIS B 0203)を表します。

丸小ねじ寸法表

部番 品名 サイズ75 サイズ100 数量 備考
E 丸小ねじ M6×12 M6×12 1

価格

製品符号−呼称 価格(円/個) 図面・施工要領書等
C=70〜200
L=80〜200
WDUTXT-75 14,100 CAD図面DXF図面DWG図面ご使用願い図
WDUTXT-100 16,800 CAD図面DXF図面DWG図面ご使用願い図
※価格には消費税は含まれておりません。