- ホーム
- 製品情報
- ルーフドレン関連製品
- WSK-2
カネソウのルーフドレン情報はこちら
ルーフドレン関連製品
防水層貫通用雨水排水管継手 たて引き用 打込型 防水層張掛け幅60mm ねじ込み式
アスファルト防水用
製品符号:WSK-2
製品写真

製品の特徴
- 雨水排水管が、防水層の施されたスラブを貫通する場合に、スラブ上部の排水管と下部の排水管をつなぐ継手です。
- スラブ上の防水層の施工が、従来工法に比較して容易に行えます。
- 継手本体は、コンクリート打設と同時に躯体に埋め込むことができる「打込型」です。
- 中継用ルーフドレンと異なり、接続部に排水開口がありません。排水機能を必要としない場所にご使用ください。
- スラブ上面からの床仕上げ厚さは、約150oまでです。これ以上の厚さの場合も対応できますので、寸法をご指示ください。
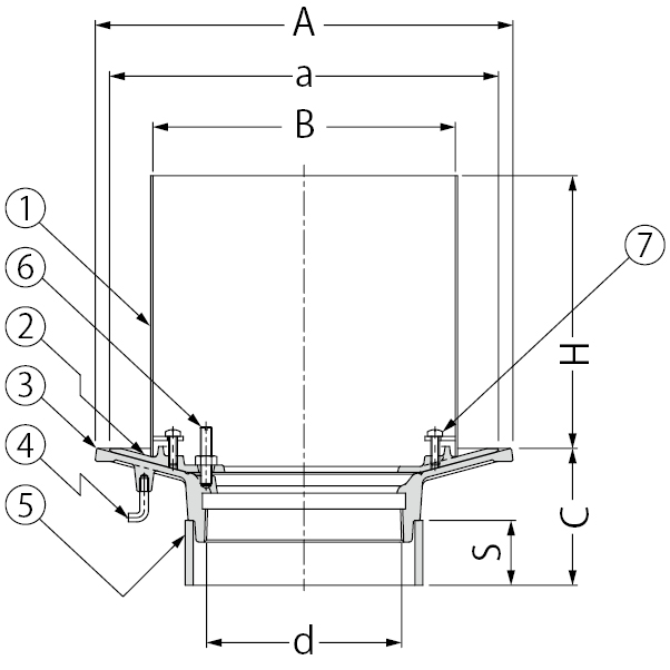
納まり図

製品図面

部品構成
- スリーブ
材質:SUS304
- 防水層押え
材質:FC150
処理:樹脂系塗装
- 本体
材質:FC150
処理:樹脂系塗装
- アンカー
材質:SWRM8
処理:リン酸塩被膜
- スペーサー
材質:硬質ポリ塩化ビニル
- ボルト
材質:C3604B
- 丸小ねじ
材質:C2700W
付属部品
- 養生蓋
- 蝶ナット
- 長ねじボルト
- 位置決めプレート
設計情報
- 防水層張掛け幅が60mmの幅広のため、防水材との密着性が向上し、より確実な防水施工を可能とし漏水を防ぎます。
注文・発注情報
- ご注文の際はC寸法をご指示ください。
<例>WSK-2-75 C=120
寸法表<単位:mm>
| 呼称 |
A |
a |
B |
C |
スペーサー規格 |
スペーサー長さS |
ねじ径d |
H |
| 75 |
230 |
210 |
159 |
70〜 |
VU100 |
C-50 |
Rc3 |
190 |
| 100 |
260 |
240 |
184 |
70〜 |
VU125 |
C-50 |
Rc4 |
190 |
| 125 |
290 |
270 |
210 |
70〜 |
VU150 |
C-50 |
Rc5 |
190 |
| 150 |
300 |
280 |
235 |
70〜 |
LP180 |
C-50 |
Rc6 |
190 |
ボルト・丸小ねじ寸法表
| 部番 |
品名 |
サイズ75 |
サイズ100 |
サイズ125 |
サイズ150 |
数量 |
備考 |
| E |
ボルト |
M8×40 |
M8×40 |
M8×40 |
M8×40 |
3 |
六角ナット付 |
| F |
丸小ねじ |
M6×20 |
M6×20 |
M6×20 |
M6×20 |
2 |
− |