ホーム
ワンポイント情報
ルーフドレン
ALC用ルーフドレン ボルト変更について
製品分類:ルーフドレン
分類番号:P220411
更新日:ー
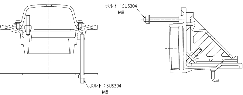
ALC用ルーフドレンのボルト(六角ナット、平座金共)について、材質をSUS304に変更します。
C3602W→SUS304
※製品ページはこちら:
ECSP-1
・
ECSP-2
・
ECSR-1
・
ECSR-2
・
ECSB-1
・
ECSB-2
・
ECSJ-1
・
ECSJ-2
・
EAXA
・
EAXS