ホーム
ワンポイント情報
EXジョイント
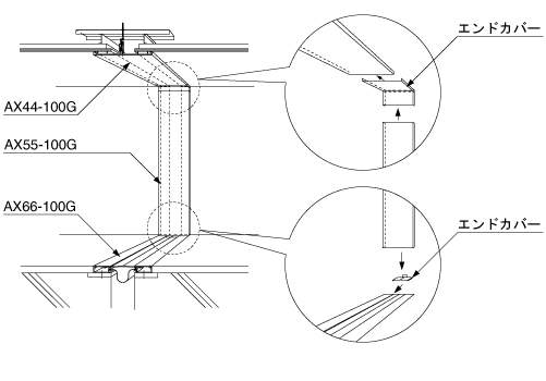
EXジョイント建物用 SX(AX)44、45、55、66用エンドカバーの役割について
製品分類:EXジョイント
分類番号:P101119
更新日:2019.10.15
EXジョイント建物用SX(AX)44、45、55、66用エンドカバーは、天井用エキスパンションジョイント、床用エキスパンションジョイント及び内壁用エキスパンションジョイントのY方向とZ方向への動きを確保するためにエンドプレートを取り付けます。
天井用エキスパンションジョイントは、両サイドの内壁に挟まれているため、天井側のエンドプレートがなければY方向に可動しません。また、内壁用エキスパンションジョイントは、床と天井に挟まれているため、内壁側のエンドプレートがなければZ方向に可動しません。
※製品ページはこちら:
SX44
・
AX44
・
SX45
・
AX45
・
SX55
・
AX55
・
SX66
・
AX66