- ホーム
- 製品情報
-
カラー舗装用みぞ蓋
- SIW-14
カネソウのスリットみぞ蓋シリーズ情報はこちら
製品写真

※写真のブロックは含まれません。
製品の特徴
- 舗装材を充填できる鋳鉄製、ステンレス目地の集水桝用排水みぞ蓋です。
- スリット排水目地のすきまは6mm(P=10)と11mm(P=15)の2タイプで、排水口を意識せずに通行できます。
- 目地部に凹凸を施した滑り止め模様付も製作できます。
- 強度はT-14用で、総重量14,000kgfまでの車両の乗り入れが可能です。
- 建物内、建物敷地内、公園敷地内、車道以外で車両の乗り入れる可能性のある場所に設置できます。
※車両が頻繁に通行する場所や、フォークリフト等の特殊車両が通行する場所には適しません。
※総重量が14トンを越える車両においても、1輪荷重5,000kgfまでの緊急車両等の乗り入れが可能です。
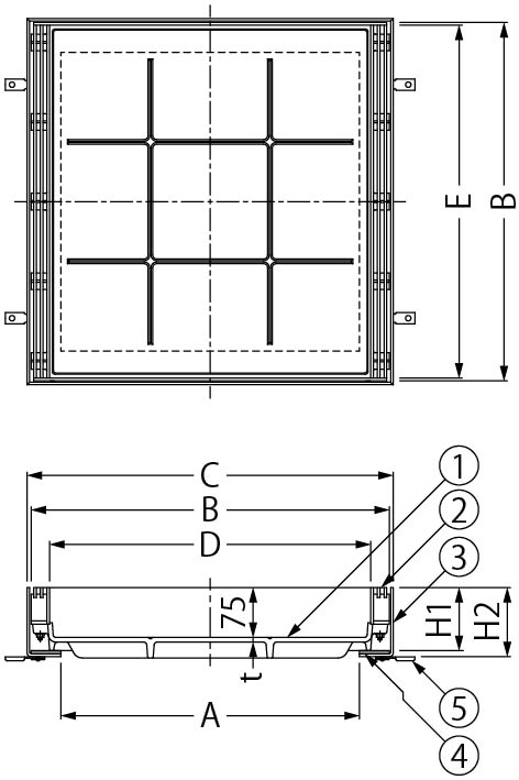
製品図面

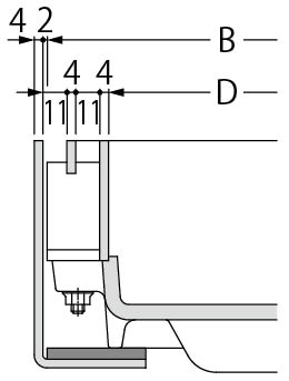
開口寸法
目地すきま6mm(P=10)
目地すきま11mm(P=15)
部品構成
- 蓋
材質:FCD500
処理:樹脂系塗装
- 目地
材質:SUS304
- 受枠
材質:SUS304
- クッション
材質:クロロプレンゴム
- アンカー
材質:SECC
注文・発注情報
- ご注文の際は、目地ピッチをご指示ください。
<例>目地ピッチ10mmの場合
SIW-14-450 P=10
寸法表<単位:mm>
| 桝内径 |
呼称 |
A |
B |
C |
D |
E |
H1 |
H2 |
t |
開口面積(mm2) |
| P=10 |
P=15 |
| 300×300 |
300 |
300 |
390 |
402 |
334 |
382 |
95 |
104 |
6 |
9,252 |
11,308 |
| 450×450 |
450 |
450 |
540 |
552 |
484 |
532 |
95 |
104 |
7 |
14,652 |
17,908 |
| 600×600 |
600 |
600 |
690 |
702 |
634 |
682 |
95 |
104 |
7 |
20,052 |
24,508 |
質量
| 呼称 |
蓋質量(kg) |
舗装材充填時の 蓋質量(約・kg) |
受枠質量(kg) |
| 300 |
17 |
42 |
9 |
| 450 |
31 |
81 |
12 |
| 600 |
48 |
134 |
15 |