
※写真のタイルは含まれません。

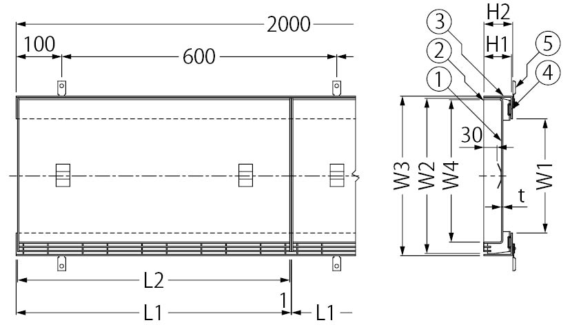
| みぞ幅 | 呼称 | W1 | W2 | W3 | W4 | L1 | L2 | H1 | H2 | t | 開口面積(mm2) | |
|---|---|---|---|---|---|---|---|---|---|---|---|---|
| P=10 | P=15 | |||||||||||
| 150 | 2560 | 150 | 240 | 250 | 210 | 599 | 593 | 60 | 63 | 3 | 10,694 | 13,066 |
| 200 | 3060 | 200 | 290 | 300 | 260 | 599 | 593 | 60 | 63 | 3 | 10,694 | 13,066 |
| 250 | 3560 | 250 | 340 | 350 | 310 | 599 | 593 | 60 | 63 | 3 | 10,694 | 13,066 |
| 300 | 4060 | 300 | 390 | 400 | 360 | 599 | 593 | 60 | 63 | 3 | 10,694 | 13,066 |
| 呼称 | 蓋質量(kg) | 舗装材充填時の蓋質量(約・kg) |
|---|---|---|
| 2560 | 5.6 | 16 |
| 3060 | 6.4 | 19 |
| 3560 | 7.3 | 22 |
| 4060 | 8.0 | 26 |
| みぞ幅 | 製品符号 | 呼称 | P=10 | P=15 | ||
|---|---|---|---|---|---|---|
| 価格(円/m) | 図面・施工要領書等 | 価格(円/m) | 図面・施工要領書等 | |||
| 150 | SSYHM-M | 2560 | 54,100 | ![]() ![]() ![]() ![]() |
50,700 | ![]() ![]() ![]() ![]() |
| 200 | SSYHM-M | 3060 | 62,200 | ![]() ![]() ![]() ![]() |
58,700 | ![]() ![]() ![]() ![]() |
| 250 | SSYHM-M | 3560 | 67,600 | ![]() ![]() ![]() ![]() |
64,100 | ![]() ![]() ![]() ![]() |
| 300 | SSYHM-M | 4060 | 73,200 | ![]() ![]() ![]() ![]() |
69,700 | ![]() ![]() ![]() ![]() |
| 製品符号 | 価格(円/m) | コーナー加工費 (円/直角1ヶ所当り) |
エンドプレート加工費 (円/片側1ヶ所当り) |
|---|---|---|---|
| ステンレス製受枠 クッションなし TL60 | 22,000 | 2,500 | 7,500 |