カネソウのスリットみぞ蓋シリーズ情報はこちら
カラー舗装用みぞ蓋
タイル用 充填深さ30mm 側溝用 目地すきま6mm/11mm クッション付ステンレス製蓋
U字溝用固定金具付 ステンレス製受枠
適用荷重:歩行用(5.0kN/m
2)
カラー舗装用みぞ蓋の強度基準はこちらをご覧ください。
製品符号
蓋:SSYM-M
目地すきま6mm(P=10)/ 目地すきま11mm(P=15)
受枠:TL60C
製品の特徴
- U字溝天端に、簡単に取り付けができ、工期短縮に貢献します。
- 舗装材を充填できるオールステンレスの排水みぞ蓋です。
- スリット排水目地のすきまは6mm(P=10)と11mm(P=15)の2タイプで、排水口を意識せずに通行できます。
- 蓋裏にクッションが付いており、ガタツキ、騒音を防止します。
- タイル目地割に適した蓋長さ600mmです。
- 目地部に凹凸を施した滑り止め模様付やシングルスリットタイプも製作できます。
- 強度は歩行用で、車両の通行のない5.0kN/uまでの荷重がかかる場所に使用できます。
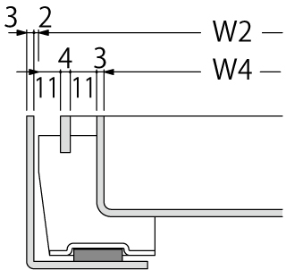
製品図面

開口寸法
目地すきま6mm(P=10)
目地すきま11mm(P=15)
部品構成
- 蓋
材質:SUS304
- 目地
材質:SUS304
- 受枠
材質:SUS304
- クッション
材質:クロロプレンゴム
- 固定金具
材質:SUS304
- 六角ボルト(M6×25)
材質:SUS304
別売部品
幅決めプレートについて
受枠には、幅決めプレートが溶接で仮固定されており、精度の高い受枠の施工ができます。

施工上の注意事項
幅決めプレートは、コンクリートが完全に硬化した後、取り外してください。コンクリートの打設前や硬化前に外しますと、受枠が変形し、製品の破損やガタツキの原因となります。
また、取り外しを忘れると、蓋本体が幅決めプレートの上に乗り上げて、ガタツキや異音の原因となります。
施工情報
- U字溝上端部と受枠下部とに生じるすきまはモルタル等で埋めてください。
- 固定金具部分は、必ずコンクリートで根固めを行ってください。
注文・発注情報
- ご注文の際は、目地ピッチをご指示ください。
<例>
SSYM-M-3060 P=10+TL60C-U18
SSYM-M-3060 P=15+TL60C-U18
寸法表<単位:mm>
| みぞ幅 |
SSYM |
W1 |
W2 |
W3 |
W4 |
L1 |
L2 |
H1 |
h |
t |
開口面積(mm2) |
TL60C |
| 蓋呼称 |
P=10 |
P=15 |
受枠呼称 |
H |
H2 |
| 150 |
2560 |
150 |
240 |
250 |
186 |
599 |
593 |
60 |
30 |
3 |
21,348 |
26,092 |
U15 |
67 |
110 |
| 180 |
3060 |
200 |
290 |
300 |
236 |
599 |
593 |
60 |
30 |
3 |
21,348 |
26,092 |
U18 |
67 |
114 |
| 240 |
3560 |
250 |
340 |
350 |
286 |
599 |
593 |
60 |
30 |
3 |
21,348 |
26,092 |
U24 |
67 |
118 |
| 300 |
4060 |
300 |
390 |
400 |
336 |
599 |
593 |
60 |
30 |
3 |
21,348 |
26,092 |
U30 |
67 |
120 |
質量
| 製品符号 |
呼称 |
蓋質量(kg) |
舗装材充填時の蓋質量(約・kg) |
| SSYM-M |
2560 |
5.6 |
16 |
| SSYM-M |
3060 |
6.4 |
19 |
| SSYM-M |
3560 |
7.3 |
22 |
| SSYM-M |
4060 |
8.0 |
26 |
目地すきま6mm(P=10) 価格
| 適用荷重 |
蓋 |
受枠 |
価格 (円/セット) |
図面・施工要領書等 |
| 製品符号 |
呼称 |
価格 (円/m) |
製品符号 |
呼称 |
価格 (円/m) |
| 歩行用 |
SSYM-M |
2560 P=10 |
54,100 |
TL60C |
U15 |
28,800 |
82,900 |
  
|
| SSYM-M |
3060 P=10 |
62,200 |
TL60C |
U18 |
28,800 |
91,000 |
  
|
| SSYM-M |
3560 P=10 |
67,600 |
TL60C |
U24 |
28,800 |
96,400 |
  
|
| SSYM-M |
4060 P=10 |
73,200 |
TL60C |
U30 |
28,800 |
102,000 |
  
|
目地すきま11mm(P=15) 価格
| 適用荷重 |
蓋 |
受枠 |
価格 (円/セット) |
図面・施工要領書等 |
| 製品符号 |
呼称 |
価格 (円/m) |
製品符号 |
呼称 |
価格 (円/m) |
| 歩行用 |
SSYM-M |
2560 P=15 |
50,700 |
TL60C |
U15 |
28,800 |
79,500 |
  
|
| SSYM-M |
3060 P=15 |
58,700 |
TL60C |
U18 |
28,800 |
87,500 |
  
|
| SSYM-M |
3560 P=15 |
64,100 |
TL60C |
U24 |
28,800 |
92,900 |
  
|
| SSYM-M |
4060 P=15 |
69,700 |
TL60C |
U30 |
28,800 |
98,500 |
  
|
※本体は1m当り、受枠は両側1m当りの価格で、幅決めプレート加工を含んでいます。
※受枠のエンドプレート加工は、1ヶ所につき7,500円加算してください。
※受枠のコーナー加工は、1ヶ所につき2,500円加算してください。
※価格には消費税は含まれておりません。
U字溝みぞ幅別の納まり詳細図
U字溝用固定金具付ステンレス製受枠は、みぞ幅によって納まりが異なります。納まりは下記の詳細図をご覧ください。
みぞ幅150mm
拡大図

みぞ幅180mm
拡大図

みぞ幅240mm
拡大図

みぞ幅300mm
拡大図
