- ホーム
- 製品情報
- HACCP対応 サニタリートラフ
- STV-C-M
カネソウのHACCP対応製品はこちら
サニタリートラフ
HACCP対応型 サニタリートラフ 排水桝
製品符号:STV-C-M
製品写真

製品の特徴
- 学校給食施設・大規模調理場・商業施設の調理場・食品加工工場など、HACCP対応の排水設備としてご利用頂けます。
関連情報:サニタリートラフ使用場所について
- 厚生労働省が示す、「HACCPに沿った衛生管理制度」に準じて、定期的に掃除を行い、施設を清潔に保てるように、内部の清掃が行いやすい形状としました。
- 桝内は平滑で、排水の流れがスムーズです。また、桝の底部をテーパー形状にすることで、清掃時に排水がスムーズに流れ、桝内に水が残りません。
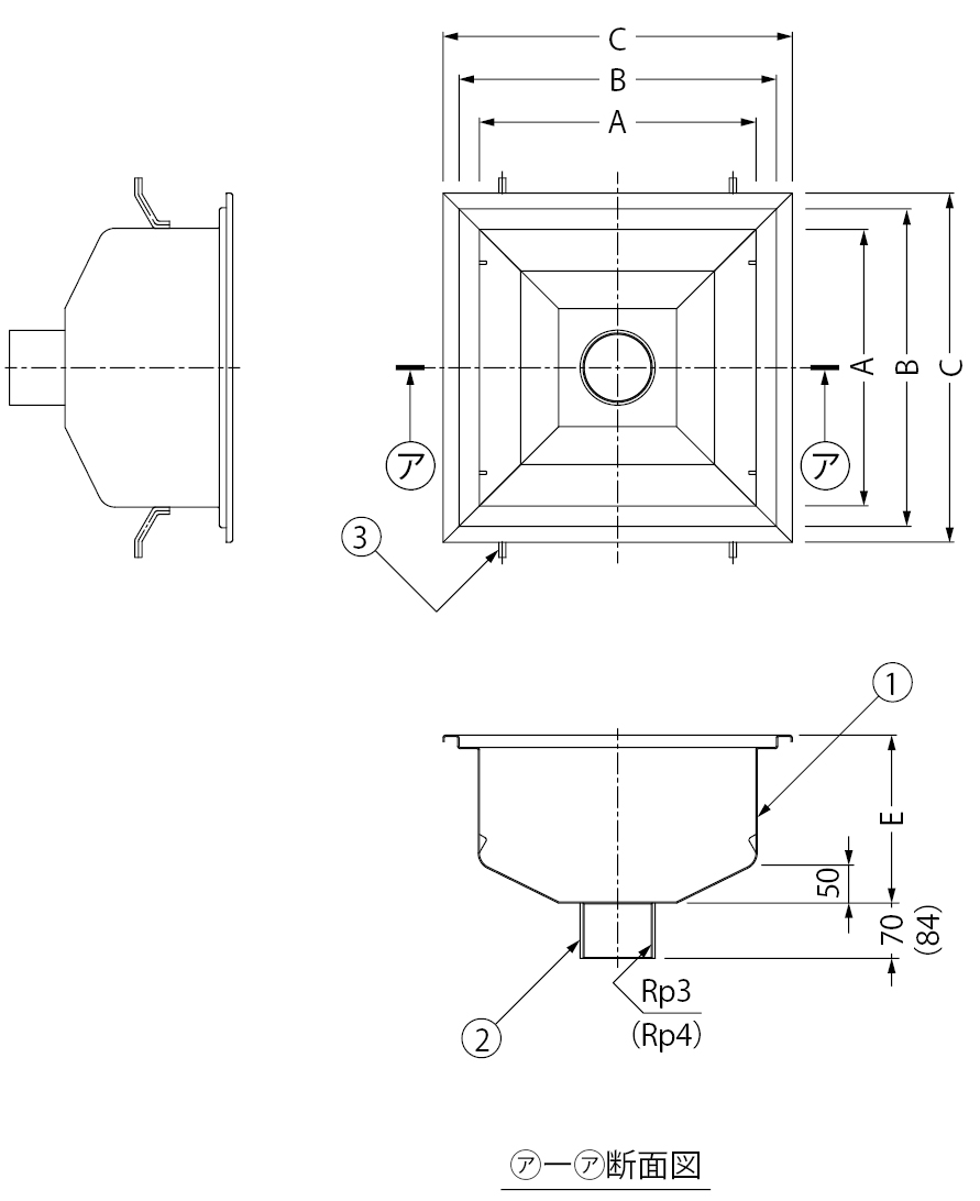
製品図面

部品構成
- 本体
材質:SUS304 t=1.5
- ソケット
材質:SUS304(80Aまたは100A)
- アンカー
材質:SUS430
推奨蓋について
- グレーチング、パンチングプレートの2タイプをご用意しています。
設置場所、用途に応じてお選びいただけます。
- ステンレス製グレーチング DQ-W-15S
ステンレス製パンチングプレート XQ-B-15
注文・発注情報
ご注文は下記要領でご指示ください。
寸法表<単位:mm>
| 製品符号 |
A |
B |
C |
| STV-C-M300 |
300 |
352 |
392 |
| STV-C-M350 |
350 |
402 |
442 |
| STV-C-M400 |
400 |
452 |
492 |
| STV-C-M450 |
450 |
502 |
542 |
排水桝・桝高さ<単位:mm>
| 呼称 |
E |
| 01F |
162.5 |
| 02F |
175 |
| 03F |
187.5 |
| 04F |
200 |
| 05F |
212.5 |
| 06F |
225 |
| 07F |
237.5 |
| 08F |
250 |
| 09F |
262.5 |
| 10F |
275 |
| 11F |
287.5 |
| 12F |
300 |
| 13F |
312.5 |
| 14F |
325 |
| 15F |
337.5 |
| 16F |
350 |
| 17F |
362.5 |
| 18F |
375 |