カネソウの排水ユニット情報はこちら
排水ユニット 28mm幅トラフ Vスレンダー
ジョイントタイプ 端部用
ステンレス製スリット すきま2.5mm
適用荷重:歩行用
製品符号:SEDS-VJ-ED
製品の特徴
- 玄関、エレベーター前、通用口などに設置する水切りユニットです。
- 本製品は中間用と端部排水用を組み合わせて、連結設置が可能です。
※割付例はこちら
- トラフ幅は28mmで目立たず、設置場所の意匠性を引き立てます。
- Vみぞ形状のトラフにより、効率的に排水できます。
- スリット蓋はすきま2.5mmの極細目です。
歩行者・台車・ストレッチャー・車椅子等がスムーズに通行できます。
- 軽量なスリット蓋と浅型トラフにより、清掃が容易です。
- 排水口には、排水管との接続が簡単な20Aニップルが付いています。
- 付属のレベル調整ボルトとロックナットで、設置レベルの調整が可能です。
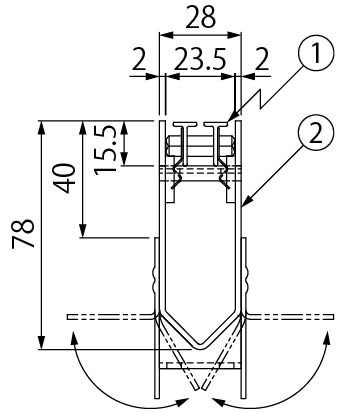
平面図

側面図

A−A断面図

※アンカーは折り曲げ可能です。
スリット蓋寸法図
すきま2.5mm

部品構成
- スリット蓋
材質:SUS304
- トラフ
材質:SUS304
- アンカー
材質:SGHC
- ジョイントピース
材質:SUS304
- エンドプレート
材質:SUS304
- レベル調整用ブラケット
材質:SUS304
付属部品
- レベル調整ボルト(M5×25)
- ロックナット(M5)
- 十字穴付スリムヘッド小ねじ(M6×10)
別売部品
- Vスレンダー専用ハンドル

設計情報
- トラフ長さは任意の寸法で製作可能です。
最大寸法:1000mm
最小寸法:500mm
- 建物外構部の排水設計は別途必要です。
- トラフ自体に排水勾配は付いていません。
施工情報
- 排水管接続には20Aの給水栓ソケット(別途)をお使いください。
- スリット蓋の引き上げ、取り外しは、専用ハンドル(別売)をお使いください。

注文・発注情報
- ご注文は下記要領でご指示ください。

納まり図

質量表
| 呼称 |
スリット蓋質量 |
トラフ質量 |
総質量 |
| 0210P |
0.5kg |
2.6kg |
3.1kg |
専用ハンドル 価格
| 製品符号 |
価格(円/本) |
| Vスレンダー 専用ハンドル |
1,900 |
※価格には消費税は含まれておりません。