カネソウステンレス製グレーチングの情報はこちら

ステンレス製グレーチング

ボルト固定式 細目滑り止め模様付 ローレット模様 歩道用 すきま9mm 
U字溝用固定金具付 ボルト固定式用ステンレス製受枠

適用荷重:歩行用(5.0kN/m2
製品符号
グレーチング:SYQL-20
受枠:SL-20NC

製品の特徴

  • ボルト固定式TバーグレーチングとU字溝用受枠のセットです。
  • U字溝天端に、簡単に取り付けができ、工期短縮に貢献します。
  • ボルト固定により、ガタツキや音の発生を防止します。
  • 受枠のボルト固定部は、土や埃が溜まりにくい形状です。
  • グレーチングの特徴はこちらをご覧ください。
ボルト固定部
滑り止め模様:ローレット

製品図面


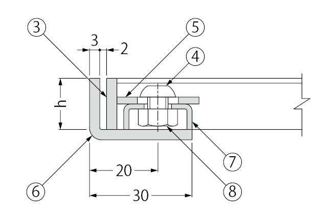
ボルト固定部詳細図



受枠詳細寸法

部品構成

  1. メインバー
    材質:SUS304
  2. クロスバー
    材質:SUS304
  3. サイドバー
    材質:SUS304
  4. 六角穴付ボタンボルト(M6)
    材質:SUS304
  5. ベースプレート
    材質:SUS304
  6. 受枠
    材質:SUS304
  7. コの字プレート
    材質:SUS304
  8. 六角ナット(M6)
    材質:SUS304
  9. 固定金具
    材質:SUS304
  10. 六角ボルト(M6×25)
    材質:SUS304

別売部品


幅決めプレートについて

受枠には、幅決めプレートが溶接で仮固定されており、精度の高い受枠の施工ができます。

幅決めプレート

施工上の注意事項
幅決めプレートは、コンクリートが完全に硬化した後、取り外してください。コンクリートの打設前や硬化前に外しますと、受枠が変形し、製品の破損やガタツキの原因となります。
また、取り外しを忘れると、蓋本体が幅決めプレートの上に乗り上げて、ガタツキや異音の原因となります。

施工情報

  • U字溝上端部と受枠下部とに生じるすきまはモルタルで埋めてください。
  • 固定金具部分は、必ずコンクリートで根固めを行ってください。

設計情報

  1. 端尺の場合、メインバー端部において、すきま調整をいたします。端尺のすきまを全て等間隔で希望される場合は、ご指示願います。

注文・発注情報

  1. ご注文は、下記要領でご指示ください。
    <例>SYQL-20-200×1000+SL-20NC-U15
    (グレーチング製品符号:SYQL-20 グレーチング呼称:200×1000 受枠製品符号:SL-20NC 受枠呼称:U15)

寸法・質量表<単位:mm>

みぞ幅 グレーチング SYQL-20 受枠 SL-20NC
呼称 W1 W2 質量(kg) 呼称 H H1 質量(kg/2m)
150 200×1000 150 200 4.4 U15 27 70 6.2
180 250×1000 200 250 5.2 U18 27 74 6.4
240 350×1000 300 350 7.0 U24 27 78 6.6

価格

みぞ幅 グレーチング 受枠 価格
(円/セット)
図面・施工要領書等
製品符号・呼称 価格
(円/枚)
製品符号・呼称 価格
(円/m)
150 SYQL-20 200×1000 39,100 SL-20NC-U15 18,400 57,500 CAD図面DXF図面DWG図面ご使用願い図
180 SYQL-20 250×1000 43,800 SL-20NC-U18 18,400 62,200 CAD図面DXF図面DWG図面ご使用願い図
240 SYQL-20 350×1000 54,900 SL-20NC-U24 18,400 73,300 CAD図面DXF図面DWG図面ご使用願い図
※受枠は両側1m当りの価格です。
※価格には消費税は含まれておりません。

U字溝みぞ幅別の納まり詳細図

U字溝用固定金具付ステンレス製受枠は、みぞ幅によって納まりが異なります。納まりは下記の詳細図をご覧ください。
みぞ幅150mm

みぞ幅180mm


みぞ幅240mm