- ホーム
- 製品情報
- 
カラー舗装用鉄蓋(化粧用鉄蓋)
- CRV
カネソウのカラー舗装用鉄蓋情報はこちら
カラー舗装用鉄蓋(化粧用鉄蓋)
タイル用 鋳鉄目地 連結タイプ 一般形 充填深さ40mm
適用荷重:輪荷重5トン
鉄蓋製品の強度基準はこちらをご覧ください。
製品符号:CRV
製品写真

 
製品の特徴
- 蓋を連続して設置することができます。
- C.C.BOX用鉄蓋として使用できます。
 
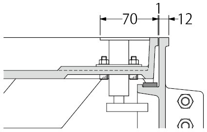
製品図面

 
A部詳細図

 
ロック部詳細図

 
アンカーボルト取付寸法

 
B部詳細

 
部品構成
- 蓋
 材質:FCD700
 処理:樹脂系塗装
- ロックユニット
 材質:SUS304
- 枠
 材質:FCD500
 処理:樹脂系塗装
- パッキン
 材質:クロロプレンゴム
- エンドプレート
 材質:FCD500
 処理:樹脂系塗装
別売部品
 
設計情報
- 蓋一枚(750mm)単位で連結できる構造のため、蓋を連続して設置することができます。また、CRTと組み合わせて連結することができます。
 
注文・発注情報
- 蓋の吊り上げには専用吊り上げボルト(別売)をご使用ください。
 また、開閉に便利な開閉機も用意しております。
 ご注文の際には必ず連結長さをご指示ください。
 <例>CRV-1020 L=3000
 
寸法表<単位:mm>
| 呼称 | A | A' | B1 | B' | C | C' | D | D' | H | h | t | P | 
| 770 | 1500 | 770 | 749 | 820 | 1560 | 930 | 1524 | 846 | 130 | 40 | 10 | 890 | 
| 1020 | 1500 | 1020 | 749 | 1070 | 1560 | 1180 | 1524 | 1096 | 130 | 40 | 10 | 1140 | 
| 1220 | 1500 | 1220 | 749 | 1270 | 1560 | 1380 | 1524 | 1296 | 130 | 40 | 10 | 1340 | 
 
質量・破壊荷重・適用荷重<加重体:200×500>
| 呼称 | 質量(kg/組) | 舗装材充填時の 蓋質量(約・kg/枚)
 | 適用荷重 | 衝撃 | 破壊荷重 | 
| 2枚1組 | 
| 770 | 256 | 127 | 輪荷重5トン | i=0.1 | 216kN以上 | 
| 1020 | 312 | 170 | 輪荷重5トン | i=0.1 | 216kN以上 | 
| 1220 | 389 | 221 | 輪荷重5トン | i=0.1 | 216kN以上 | 
※寸法表および質量はL=1500の場合です。