カネソウのクリーンピット情報はこちら
クリーンピット グレーチング
ステンレス製 細目ノンスリップタイプ(ローレット模様)
無溶接 オープンエンドグレーチング (すきま9mm)
蓋 製品符号:SK-15
枠 製品符号:RL-15
製品写真

 
製品の特徴
- 耐候性に優れる、クッションの無いステンレス製受枠との組み合わせです。
- 蓋の強度基準は両端自由支持の状態で建築基準法施行令第85条の積載荷重に基づき、3,500N/uの等分布荷重に耐える仕様です。
- 滑り抵抗係数C.S.R=0.5以上を確保したノンスリップタイプです。
  
- メインバーのすきまは、ゴミが詰まりにくい9mmです。
 
製品図面

 
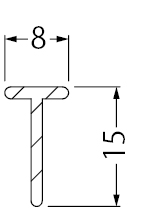
蓋詳細図

 
メインバー形状

 
部品構成
- メインバー
 材質:SUS304
- クロスバー
 材質:SUS304
別売部品
 
注意
- メインバー端部がサイドバーで保護されていないため、浴室やプールなど素足で載るような場所には使用しないでください。
  
- ステンレス製グレーチングとステンレス製受枠の組み合わせの為、歩行時に音鳴りが発生する場合があります。
 音鳴りを防ぐ組み合わせとしては、クッション付の受枠をご使用ください。
 
設計情報
- 水はけが良く、蓋と枠の間にゴミが溜まりにくいオープンエンド構造です。
- クロスバー端部を突出させることにより、蓋を並べて敷詰めた時につぎ目が目立たない構造です。
- 環境に優しい無溶接組立法により、低価格かつ、高品質を実現しました。
- 取扱いの安全性を考慮し、メインバーおよびクロスバー端部を滑らかに処理しています。
- 端尺の場合、メインバー端部において、すきま調整をいたします。端尺のすきまを全て等間隔で希望される場合は、ご指示願います。
 
注文・発注情報
- 標準品以外も製作いたします。仕様、寸法等をご指示ください。
 
寸法・質量表<単位:mm>
| 呼称 | ピット幅 | W | 質量(kg) | 
| 150×500×15 | 100 | 150 | 1.2 | 
| 200×500×15 | 150 | 200 | 1.6 | 
| 250×500×15 | 200 | 250 | 2.0 | 
| 300×500×15 | 250 | 300 | 2.3 | 
| 350×500×15 | 300 | 350 | 2.6 | 
 
受枠 価格
※受枠は片側1m当りの価格です。
※価格には消費税は含まれておりません。