カネソウステンレス製グレーチングの情報はこちら

ステンレス製グレーチング

ボルト固定式 細目滑り止め模様付 ローレット模様 歩道用 すきま6mm
U字溝用固定金具付 ボルト固定式用ステンレス製受枠

適用荷重:歩行用(5.0kN/m2
製品符号
グレーチング:SYQL-H-15

受枠:SL-15NC

製品の特徴

  • ボルト固定式TバーグレーチングとU字溝用受枠のセットです。
  • U字溝天端に、簡単に取り付けができ、工期短縮に貢献します。
  • ボルト固定により、ガタツキや音の発生を防止します。
  • 受枠のボルト固定部は、土や埃が溜まりにくい形状です。
  • グレーチングの特徴はこちらをご覧ください。
ボルト固定部
滑り止め模様:ローレット

製品図面

ボルト固定部詳細図



受枠詳細寸法

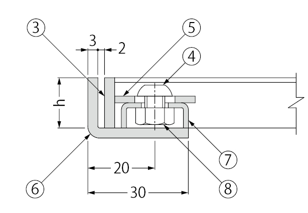
部品構成

  1. メインバー
    材質:SUS304
  2. クロスバー
    材質:SUS304
  3. サイドバー
    材質:SUS304
  4. 六角穴付ボタンボルト(M6)
    材質:SUS304
  5. ベースプレート
    材質:SUS304
  6. 受枠
    材質:SUS304
  7. コの字プレート
    材質:SUS304
  8. 六角ナット(M6)
    材質:SUS304
  9. 固定金具
    材質:SUS304
  10. 六角ボルト(M6×25)
    材質:SUS304

別売部品


幅決めプレートについて

受枠には、幅決めプレートが溶接で仮固定されており、精度の高い受枠の施工ができます。

施工上の注意事項
幅決めプレートは、コンクリートが完全に硬化した後、取り外してください。コンクリートの打設前や硬化前に外しますと、受枠が変形し、製品の破損やガタツキの原因となります。
また、取り外しを忘れると、蓋本体が幅決めプレートの上に乗り上げて、ガタツキや異音の原因となります。

施工情報

  1. U字溝上端部と受枠下部とのすきまはモルタルで埋めてください。
  2. 固定金具部分は、必ずコンクリートで根固めを行ってください。

注文・発注情報

  1. ご注文は、下記要領でご指示ください。
    <例>
    SYQL-H-15-200×1000+SL-15NC-U15
    (グレーチング製品符号:SYQL-H-15 グレーチング呼称:200×1000 受枠製品符号:SL-15NC 受枠呼称:U15)

寸法・質量表<単位:mm>

みぞ幅 グレーチング SYQL-H-15 受枠 SL-15NC
呼称 W1 W2 質量(kg) 呼称 H H1 質量(kg/2m)
150 200×1000 150 200 4.4 U15 22 65 5.8
180 250×1000 200 250 5.2 U18 22 69 6.0
240 350×1000 300 350 7.2 U24 22 73 6.2

価格

みぞ幅 グレーチング 受枠 価格
(円/セット)
図面・施工要領書等
製品符号・呼称 価格
(円/枚)
製品符号・呼称 価格
(円/m)
150 SYQL-H-15 200×1000 38,700 SL-15NC-U15 17,600 56,300 CAD図面DXF図面DWG図面ご使用願い図
180 SYQL-H-15 250×1000 43,300 SL-15NC-U18 17,600 60,900 CAD図面DXF図面DWG図面ご使用願い図
240 SYQL-H-15 350×1000 54,500 SL-15NC-U24 17,600 72,100 CAD図面DXF図面DWG図面ご使用願い図
※受枠は両側1m当りの価格です。
※価格には消費税は含まれておりません。

U字溝みぞ幅別の納まり詳細図

U字溝用固定金具付ステンレス製受枠は、みぞ幅によって納まりが異なります。納まりは下記の詳細図をご覧ください。
みぞ幅150mm

みぞ幅180mm

みぞ幅240mm