カネソウステンレス製グレーチングの情報はこちら
ステンレス製グレーチング
ボルト固定式
プレーンタイプ 横断溝・側溝用
適用荷重:T-20、T-14、T-6、T-2、歩行用
製品符号:SMGL
すきま:26mm/18mm/11mm/9mm
製品写真

製品の特徴
- ボルト固定により、ガタツキ・騒音を防止します。
- 固定用ナットには、緩み止め機構を内蔵したキャップ付Uナットを使用しています。
規格対照表
| 規格名称 |
呼称(サイズ) |
| 公共建築協会評価対象品 |
全サイズ |
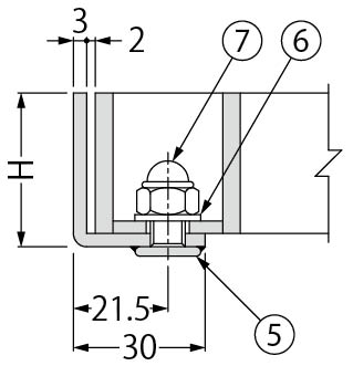
製品図面

ボルト固定部詳細図

部品構成
- メインバー
材質:SUS304
- クロスバー
材質:SUS304
- サイドバー
材質:SUS304
- 受枠
材質:SUS304
- 固定ボルト(M8×16)
材質:SUS304
- 平座金
材質:SUS304
- キャップ付Uナット(M8)
材質:SUS304
- アンカー
材質:SECC
別売部品
設計情報
- 駐車場の出入口にご使用いただく場合は、溶接強度を向上させた(SMGL-S)をご使用ください。
h=15のタイプも製作可能です。
販売情報
- 専用受枠をご使用ください。受枠にはグレーチングを固定するボルト(M8×16)が溶接固定されています。
注文・発注情報
- ご注文は下記要領でご指示ください。

すきま(メインバーピッチ)

寸法・質量表 すきま26mm(P=30)<単位:mm>
| みぞ幅 |
グレーチング |
受枠 |
| 呼称−メインバーピッチ |
W |
h |
質量(kg) |
適用荷重 |
製品符号 |
H |
BP |
| 100 |
11520 P=30 |
150 |
20 |
4.7 |
T-20 |
RL-20A |
23 |
117 |
| 150 |
12020 P=30 |
200 |
20 |
5.8 |
T-2/T-14 |
RL-20A |
23 |
167 |
| 12025 P=30 |
200 |
25 |
7.2 |
T-14/T-20 |
RL-25A |
28 |
167 |
| 12032 P=30 |
200 |
32 |
9.1 |
T-20 |
RL-32A |
35 |
167 |
| 200 |
12520 P=30 |
250 |
20 |
7.2 |
歩行用/T-2 |
RL-20A |
23 |
217 |
| 12525 P=30 |
250 |
25 |
9.0 |
T-2/T-6 |
RL-25A |
28 |
217 |
| 12532 P=30 |
250 |
32 |
11.3 |
T-14/T-20 |
RL-32A |
35 |
217 |
| 12538 P=30 |
250 |
38 |
13.3 |
T-20 |
RL-38A |
41 |
217 |
| 250 |
13020 P=30 |
300 |
20 |
8.3 |
歩行用 |
RL-20A |
23 |
267 |
| 13025 P=30 |
300 |
25 |
10.4 |
T-2 |
RL-25A |
28 |
267 |
| 13032 P=30 |
300 |
32 |
13.0 |
T-2/T-6 |
RL-32A |
35 |
267 |
| 13038 P=30 |
300 |
38 |
15.4 |
T-14 |
RL-38A |
41 |
267 |
| 300 |
13520 P=30 |
350 |
20 |
9.7 |
歩行用 |
RL-20A |
23 |
317 |
| 13525 P=30 |
350 |
25 |
12.2 |
歩行用/T-2 |
RL-25A |
28 |
317 |
| 13532 P=30 |
350 |
32 |
15.2 |
T-2 |
RL-32A |
35 |
317 |
| 13538 P=30 |
350 |
38 |
17.9 |
T-2/T-6 |
RL-38A |
41 |
317 |
| 350 |
14020 P=30 |
400 |
20 |
11.0 |
歩行用 |
RL-20A |
23 |
367 |
| 14025 P=30 |
400 |
25 |
13.5 |
歩行用 |
RL-25A |
28 |
367 |
| 14032 P=30 |
400 |
32 |
16.7 |
歩行用/T-2 |
RL-32A |
35 |
367 |
| 14038 P=30 |
400 |
38 |
19.9 |
T-2 |
RL-38A |
41 |
367 |
| 14050 P=30 |
400 |
50 |
25.8 |
T-14 |
RL-50A |
53 |
367 |
| 400 |
14520 P=30 |
450 |
20 |
12.2 |
歩行用 |
RL-20A |
23 |
417 |
| 14525 P=30 |
450 |
25 |
15.3 |
歩行用 |
RL-25A |
28 |
417 |
| 14532 P=30 |
450 |
32 |
19.1 |
歩行用/T-2 |
RL-32A |
35 |
417 |
| 14538 P=30 |
450 |
38 |
22.5 |
T-2 |
RL-38A |
41 |
417 |
| 14550 P=30 |
450 |
50 |
29.0 |
T-6 |
RL-50A |
53 |
417 |
| 450 |
15020 P=30 |
500 |
20 |
13.2 |
歩行用 |
RL-20A |
23 |
467 |
| 15025 P=30 |
500 |
25 |
16.7 |
歩行用 |
RL-25A |
28 |
467 |
| 15032 P=30 |
500 |
32 |
20.8 |
歩行用/T-2 |
RL-32A |
35 |
467 |
| 15050 P=30 |
500 |
50 |
31.7 |
T-2/T-6 |
RL-50A |
53 |
467 |
※適用荷重の表示について、(例)T-2/T-6は横断溝/側溝用です。
寸法・質量表 すきま18mm(P=22)<単位:mm>
| みぞ幅 |
グレーチング |
受枠 |
| 呼称−メインバーピッチ |
W |
h |
質量(kg) |
適用荷重 |
製品符号 |
H |
BP |
| 100 |
11520 P=22 |
150 |
20 |
5.8 |
T-20 |
RL-20A |
23 |
117 |
| 150 |
12020 P=22 |
200 |
20 |
7.2 |
T-14/T-20 |
RL-20A |
23 |
167 |
| 12025 P=22 |
200 |
25 |
8.2 |
T-20 |
RL-25A |
28 |
167 |
| 12032 P=22 |
200 |
32 |
11.5 |
T-20 |
RL-32A |
35 |
167 |
| 200 |
12520 P=22 |
250 |
20 |
9.0 |
T-2 |
RL-20A |
23 |
217 |
| 12525 P=22 |
250 |
25 |
11.3 |
T-6/T-14 |
RL-25A |
28 |
217 |
| 12532 P=22 |
250 |
32 |
14.3 |
T-20 |
RL-32A |
35 |
217 |
| 250 |
13020 P=22 |
300 |
20 |
10.5 |
歩行用/T-2 |
RL-20A |
23 |
267 |
| 13025 P=22 |
300 |
25 |
13.2 |
T-2 |
RL-25A |
28 |
267 |
| 13032 P=22 |
300 |
32 |
16.6 |
T-6/T-14 |
RL-32A |
35 |
267 |
| 13038 P=22 |
300 |
38 |
19.6 |
T-14/T-20 |
RL-38A |
41 |
267 |
| 300 |
13520 P=22 |
350 |
20 |
12.3 |
歩行用/T-2 |
RL-20A |
23 |
317 |
| 13525 P=22 |
350 |
25 |
15.4 |
T-2 |
RL-25A |
28 |
317 |
| 13532 P=22 |
350 |
32 |
19.3 |
T-2/T-6 |
RL-32A |
35 |
317 |
| 13538 P=22 |
350 |
38 |
22.9 |
T-14 |
RL-38A |
41 |
317 |
| 350 |
14020 P=22 |
400 |
20 |
13.7 |
歩行用 |
RL-20A |
23 |
367 |
| 14025 P=22 |
400 |
25 |
17.2 |
歩行用/T-2 |
RL-25A |
28 |
367 |
| 14032 P=22 |
400 |
32 |
21.6 |
T-2 |
RL-32A |
35 |
367 |
| 14038 P=22 |
400 |
38 |
25.6 |
T-2/T-6 |
RL-38A |
41 |
367 |
| 14050 P=22 |
400 |
50 |
33.2 |
T-20 |
RL-50A |
53 |
367 |
| 400 |
14520 P=22 |
450 |
20 |
15.5 |
歩行用 |
RL-20A |
23 |
417 |
| 14525 P=22 |
450 |
25 |
19.5 |
歩行用/T-2 |
RL-25A |
28 |
417 |
| 14532 P=22 |
450 |
32 |
24.4 |
T-2 |
RL-32A |
35 |
417 |
| 14550 P=22 |
450 |
50 |
37.4 |
T-14 |
RL-50A |
53 |
417 |
| 450 |
15020 P=22 |
500 |
20 |
17.0 |
歩行用 |
RL-20A |
23 |
467 |
| 15025 P=22 |
500 |
25 |
21.3 |
歩行用 |
RL-25A |
28 |
467 |
| 15032 P=22 |
500 |
32 |
26.8 |
歩行用/T-2 |
RL-32A |
35 |
467 |
| 15038 P=22 |
500 |
38 |
31.7 |
T-2 |
RL-38A |
41 |
467 |
| 15050 P=22 |
500 |
50 |
41.1 |
T-14 |
RL-50A |
53 |
467 |
※適用荷重の表示について、(例)T-2/T-6は横断溝/側溝用です。
寸法・質量表 すきま11mm(P=15)<単位:mm>
| みぞ幅 |
グレーチング |
受枠 |
| 呼称−メインバーピッチ |
W |
h |
質量(kg) |
適用荷重 |
製品符号 |
H |
BP |
| 100 |
11520 P=15 |
150 |
20 |
7.7 |
T-20 |
RL-20A |
23 |
117 |
| 150 |
12020 P=15 |
200 |
20 |
9.8 |
T-20 |
RL-20A |
23 |
167 |
| 12025 P=15 |
200 |
25 |
12.2 |
T-20 |
RL-25A |
28 |
167 |
| 12032 P=15 |
200 |
32 |
15.6 |
T-20 |
RL-32A |
35 |
167 |
| 200 |
12520 P=15 |
250 |
20 |
11.3 |
T-2/T-14 |
RL-20A |
23 |
217 |
| 12525 P=15 |
250 |
25 |
15.4 |
T-14/T-20 |
RL-25A |
28 |
217 |
| 12532 P=15 |
250 |
32 |
19.4 |
T-20 |
RL-32A |
35 |
217 |
| 250 |
13020 P=15 |
300 |
20 |
14.4 |
T-2 |
RL-20A |
23 |
267 |
| 13025 P=15 |
300 |
25 |
18.0 |
T-6/T-14 |
RL-25A |
28 |
267 |
| 13032 P=15 |
300 |
32 |
22.8 |
T-20 |
RL-32A |
35 |
267 |
| 300 |
13520 P=15 |
350 |
20 |
16.8 |
歩行用/T-2 |
RL-20A |
23 |
317 |
| 13525 P=15 |
350 |
25 |
21.1 |
T-2 |
RL-25A |
28 |
317 |
| 13532 P=15 |
350 |
32 |
26.6 |
T-14 |
RL-32A |
35 |
317 |
| 13538 P=15 |
350 |
38 |
31.5 |
T-20 |
RL-38A |
41 |
317 |
| 350 |
14020 P=15 |
400 |
20 |
19.0 |
歩行用/T-2 |
RL-20A |
23 |
367 |
| 14025 P=15 |
400 |
25 |
23.7 |
T-2 |
RL-25A |
28 |
367 |
| 14032 P=15 |
400 |
32 |
30.0 |
T-2/T-14 |
RL-32A |
35 |
367 |
| 14038 P=15 |
400 |
38 |
35.6 |
T-14 |
RL-38A |
41 |
367 |
| 14050 P=15 |
400 |
50 |
46.3 |
T-20 |
RL-50A |
53 |
367 |
| 400 |
14520 P=15 |
450 |
20 |
21.4 |
歩行用/T-2 |
RL-20A |
23 |
417 |
| 14525 P=15 |
450 |
25 |
26.8 |
T-2 |
RL-25A |
28 |
417 |
| 14532 P=15 |
450 |
32 |
33.8 |
T-2/T-6 |
RL-32A |
35 |
417 |
| 14538 P=15 |
450 |
38 |
40.2 |
T-14 |
RL-38A |
41 |
417 |
| 14550 P=15 |
450 |
50 |
52.2 |
T-20 |
RL-50A |
53 |
417 |
| 450 |
15020 P=15 |
500 |
20 |
23.5 |
歩行用 |
RL-20A |
23 |
467 |
| 15025 P=15 |
500 |
25 |
29.5 |
歩行用/T-2 |
RL-25A |
28 |
467 |
| 15032 P=15 |
500 |
32 |
37.2 |
T-2 |
RL-32A |
35 |
467 |
| 15038 P=15 |
500 |
38 |
44.2 |
T-2/T-6 |
RL-38A |
41 |
467 |
| 15050 P=15 |
500 |
50 |
57.5 |
T-20 |
RL-50A |
53 |
467 |
※適用荷重の表示について、(例)T-2/T-6は横断溝/側溝用です。
寸法・質量表 すきま9mm(P=13)<単位:mm>
| みぞ幅 |
グレーチング |
受枠 |
| 呼称−メインバーピッチ |
W |
h |
質量(kg) |
適用荷重 |
製品符号 |
H |
BP |
| 100 |
11520 P=13 |
150 |
20 |
8.6 |
T-20 |
RL-20A |
23 |
117 |
| 150 |
12020 P=13 |
200 |
20 |
11.1 |
T-20 |
RL-20A |
23 |
167 |
| 12025 P=13 |
200 |
25 |
13.8 |
T-20 |
RL-25A |
28 |
167 |
| 12032 P=13 |
200 |
32 |
17.6 |
T-20 |
RL-32A |
35 |
167 |
| 200 |
12520 P=13 |
250 |
20 |
12.9 |
T-6/T-14 |
RL-20A |
23 |
217 |
| 12525 P=13 |
250 |
25 |
17.4 |
T-20 |
RL-25A |
28 |
217 |
| 12532 P=13 |
250 |
32 |
21.9 |
T-20 |
RL-32A |
35 |
217 |
| 250 |
13020 P=13 |
300 |
20 |
16.3 |
T-2 |
RL-20A |
23 |
267 |
| 13025 P=13 |
300 |
25 |
20.4 |
T-14 |
RL-25A |
28 |
267 |
| 13032 P=13 |
300 |
32 |
25.8 |
T-20 |
RL-32A |
35 |
267 |
| 300 |
13520 P=13 |
350 |
20 |
19.0 |
T-2 |
RL-20A |
23 |
317 |
| 13525 P=13 |
350 |
25 |
23.8 |
T-2/T-6 |
RL-25A |
28 |
317 |
| 13532 P=13 |
350 |
32 |
30.1 |
T-14/T-20 |
RL-32A |
35 |
317 |
| 13538 P=13 |
350 |
38 |
35.7 |
T-20 |
RL-38A |
41 |
317 |
| 350 |
14020 P=13 |
400 |
20 |
21.5 |
歩行用/T-2 |
RL-20A |
23 |
367 |
| 14025 P=13 |
400 |
25 |
26.8 |
T-2 |
RL-25A |
28 |
367 |
| 14032 P=13 |
400 |
32 |
34.0 |
T-14 |
RL-32A |
35 |
367 |
| 14038 P=13 |
400 |
38 |
40.4 |
T-20 |
RL-38A |
41 |
367 |
| 400 |
14520 P=13 |
450 |
20 |
24.2 |
歩行用/T-2 |
RL-20A |
23 |
417 |
| 14525 P=13 |
450 |
25 |
30.3 |
T-2 |
RL-25A |
28 |
417 |
| 14532 P=13 |
450 |
32 |
38.3 |
T-2/T-6 |
RL-32A |
35 |
417 |
| 14538 P=13 |
450 |
38 |
45.6 |
T-14 |
RL-38A |
41 |
417 |
| 14550 P=13 |
450 |
50 |
59.3 |
T-20 |
RL-50A |
53 |
417 |
| 450 |
15020 P=13 |
500 |
20 |
26.6 |
歩行用/T-2 |
RL-20A |
23 |
467 |
| 15025 P=13 |
500 |
25 |
33.4 |
歩行用/T-2 |
RL-25A |
28 |
467 |
| 15032 P=13 |
500 |
32 |
42.2 |
T-2/T-6 |
RL-32A |
35 |
467 |
| 15038 P=13 |
500 |
38 |
50.2 |
T-14/T-6 |
RL-38A |
41 |
467 |
| 15050 P=13 |
500 |
50 |
65.4 |
T-20 |
RL-50A |
53 |
467 |
※適用荷重の表示について、(例)T-2/T-6は横断溝/側溝用です。
SMGL すきま26mm(P=30) 価格
みぞ幅 (mm) |
製品符号−呼称−メインバーピッチ |
価格 |
適用荷重 |
図面・施工要領書等 |
グレーチング (円/枚) |
受枠 (円/m) |
| 100 |
SMGL 11520 P=30 |
28,500 |
14,000 |
T-20 |
    |
| 150 |
SMGL 12020 P=30 |
32,200 |
14,000 |
T-2/T-14 |
    |
| 150 |
SMGL 12025 P=30 |
38,300 |
14,600 |
T-14/T-20 |
    |
| 150 |
SMGL 12032 P=30 |
45,400 |
16,000 |
T-20 |
    |
| 200 |
SMGL 12520 P=30 |
38,300 |
14,000 |
歩行用/T-2 |
    |
| 200 |
SMGL 12525 P=30 |
44,800 |
14,600 |
T-2/T-6 |
    |
| 200 |
SMGL 12532 P=30 |
54,200 |
16,000 |
T-14/T-20 |
    |
| 200 |
SMGL 12538 P=30 |
62,800 |
17,600 |
T-20 |
    |
| 250 |
SMGL 13020 P=30 |
42,900 |
14,000 |
歩行用 |
    |
| 250 |
SMGL 13025 P=30 |
50,600 |
14,600 |
T-2 |
    |
| 250 |
SMGL 13032 P=30 |
61,800 |
16,000 |
T-2/T-6 |
    |
| 250 |
SMGL 13038 P=30 |
71,900 |
17,600 |
T-14 |
    |
| 300 |
SMGL 13520 P=30 |
49,100 |
14,000 |
歩行用 |
    |
| 300 |
SMGL 13525 P=30 |
58,200 |
14,600 |
歩行用/T-2 |
    |
| 300 |
SMGL 13532 P=30 |
71,300 |
16,000 |
T-2 |
    |
| 300 |
SMGL 13538 P=30 |
82,800 |
17,600 |
T-2/T-6 |
    |
| 350 |
SMGL 14020 P=30 |
52,900 |
14,000 |
歩行用 |
    |
| 350 |
SMGL 14025 P=30 |
62,600 |
14,600 |
歩行用 |
    |
| 350 |
SMGL 14032 P=30 |
76,200 |
16,000 |
歩行用/T-2 |
    |
| 350 |
SMGL 14038 P=30 |
89,200 |
17,600 |
T-2 |
    |
| 350 |
SMGL 14050 P=30 |
111,700 |
19,600 |
T-14 |
    |
| 400 |
SMGL 14520 P=30 |
61,500 |
14,000 |
歩行用 |
    |
| 400 |
SMGL 14525 P=30 |
73,100 |
14,600 |
歩行用 |
    |
| 400 |
SMGL 14532 P=30 |
90,000 |
16,000 |
歩行用/T-2 |
    |
| 400 |
SMGL 14538 P=30 |
105,400 |
17,600 |
T-2 |
    |
| 400 |
SMGL 14550 P=30 |
132,800 |
19,600 |
T-6 |
    |
| 450 |
SMGL 15020 P=30 |
64,700 |
14,000 |
歩行用 |
    |
| 450 |
SMGL 15025 P=30 |
74,700 |
14,600 |
歩行用 |
    |
| 450 |
SMGL 15032 P=30 |
91,800 |
16,000 |
歩行用/T-2 |
    |
| 450 |
SMGL 15050 P=30 |
135,500 |
19,600 |
T-2/T-6 |
    |
※受枠は両側1m当りの価格です。
※価格には消費税は含まれておりません。
SMGL すきま18mm(P=22) 価格
みぞ幅 (mm) |
製品符号−呼称−メインバーピッチ |
価格 |
適用荷重 |
図面・施工要領書等 |
グレーチング (円/枚) |
受枠 (円/m) |
| 100 |
SMGL 11520 P=22 |
33,800 |
14,000 |
T-20 |
    |
| 150 |
SMGL 12020 P=22 |
39,200 |
14,000 |
T-14/T-20 |
    |
| 150 |
SMGL 12025 P=22 |
45,200 |
14,600 |
T-20 |
    |
| 150 |
SMGL 12032 P=22 |
55,400 |
16,000 |
T-20 |
    |
| 200 |
SMGL 12520 P=22 |
46,800 |
14,000 |
T-2 |
    |
| 200 |
SMGL 12525 P=22 |
54,600 |
14,600 |
T-6/T-14 |
    |
| 200 |
SMGL 12532 P=22 |
66,900 |
16,000 |
T-20 |
    |
| 250 |
SMGL 13020 P=22 |
52,800 |
14,000 |
歩行用/T-2 |
    |
| 250 |
SMGL 13025 P=22 |
62,600 |
14,600 |
T-2 |
    |
| 250 |
SMGL 13032 P=22 |
76,900 |
16,000 |
T-6/T-14 |
    |
| 250 |
SMGL 13038 P=22 |
90,700 |
17,600 |
T-14/T-20 |
    |
| 300 |
SMGL 13520 P=22 |
61,400 |
14,000 |
歩行用/T-2 |
    |
| 300 |
SMGL 13525 P=22 |
75,200 |
14,600 |
T-2 |
    |
| 300 |
SMGL 13532 P=22 |
91,000 |
16,000 |
T-2/T-6 |
    |
| 300 |
SMGL 13538 P=22 |
107,100 |
17,600 |
T-14 |
    |
| 350 |
SMGL 14020 P=22 |
65,900 |
14,000 |
歩行用 |
    |
| 350 |
SMGL 14025 P=22 |
78,100 |
14,600 |
歩行用/T-2 |
    |
| 350 |
SMGL 14032 P=22 |
97,300 |
16,000 |
T-2 |
    |
| 350 |
SMGL 14038 P=22 |
114,700 |
17,600 |
T-2/T-6 |
    |
| 350 |
SMGL 14050 P=22 |
143,900 |
19,600 |
T-20 |
    |
| 400 |
SMGL 14520 P=22 |
77,300 |
14,000 |
歩行用 |
    |
| 400 |
SMGL 14525 P=22 |
92,100 |
14,600 |
歩行用/T-2 |
    |
| 400 |
SMGL 14532 P=22 |
114,000 |
16,000 |
T-2 |
    |
| 400 |
SMGL 14550 P=22 |
169,600 |
19,600 |
T-14 |
    |
| 450 |
SMGL 15020 P=22 |
79,600 |
14,000 |
歩行用 |
    |
| 450 |
SMGL 15025 P=22 |
94,500 |
14,600 |
歩行用 |
    |
| 450 |
SMGL 15032 P=22 |
117,100 |
16,000 |
歩行用/T-2 |
    |
| 450 |
SMGL 15038 P=22 |
138,100 |
17,600 |
T-2 |
    |
| 450 |
SMGL 15050 P=22 |
174,400 |
19,600 |
T-14 |
    |
※受枠は両側1m当りの価格です。
※価格には消費税は含まれておりません。
SMGL すきま11mm(P=15) 価格
みぞ幅 (mm) |
製品符号−呼称−メインバーピッチ |
価格 |
適用荷重 |
図面・施工要領書等 |
グレーチング (円/枚) |
受枠 (円/m) |
| 100 |
SMGL 11520 P=15 |
43,000 |
14,000 |
T-20 |
    |
| 150 |
SMGL 12020 P=15 |
50,400 |
14,000 |
T-20 |
    |
| 150 |
SMGL 12025 P=15 |
59,100 |
14,600 |
T-20 |
    |
| 150 |
SMGL 12032 P=15 |
72,900 |
16,000 |
T-20 |
    |
| 200 |
SMGL 12520 P=15 |
61,900 |
14,000 |
T-2/T-14 |
    |
| 200 |
SMGL 12525 P=15 |
72,100 |
14,600 |
T-14/T-20 |
    |
| 200 |
SMGL 12532 P=15 |
88,800 |
16,000 |
T-20 |
    |
| 250 |
SMGL 13020 P=15 |
70,000 |
14,000 |
T-2 |
    |
| 250 |
SMGL 13025 P=15 |
83,000 |
14,600 |
T-6/T-14 |
    |
| 250 |
SMGL 13032 P=15 |
103,300 |
16,000 |
T-20 |
    |
| 300 |
SMGL 13520 P=15 |
81,300 |
14,000 |
歩行用/T-2 |
    |
| 300 |
SMGL 13525 P=15 |
96,600 |
14,600 |
T-2 |
    |
| 300 |
SMGL 13532 P=15 |
120,800 |
16,000 |
T-14 |
    |
| 300 |
SMGL 13538 P=15 |
142,500 |
17,600 |
T-20 |
    |
| 350 |
SMGL 14020 P=15 |
88,100 |
14,000 |
歩行用/T-2 |
    |
| 350 |
SMGL 14025 P=15 |
104,500 |
14,600 |
T-2 |
    |
| 350 |
SMGL 14032 P=15 |
130,200 |
16,000 |
T-2/T-14 |
    |
| 350 |
SMGL 14038 P=15 |
153,700 |
17,600 |
T-14 |
    |
| 350 |
SMGL 14050 P=15 |
193,400 |
19,600 |
T-20 |
    |
| 400 |
SMGL 14520 P=15 |
104,400 |
14,000 |
歩行用/T-2 |
    |
| 400 |
SMGL 14525 P=15 |
124,400 |
14,600 |
T-2 |
    |
| 400 |
SMGL 14532 P=15 |
155,500 |
16,000 |
T-2/T-6 |
    |
| 400 |
SMGL 14538 P=15 |
184,000 |
17,600 |
T-14 |
    |
| 400 |
SMGL 14550 P=15 |
232,300 |
19,600 |
T-20 |
    |
| 450 |
SMGL 15020 P=15 |
106,400 |
14,000 |
歩行用 |
    |
| 450 |
SMGL 15025 P=15 |
127,000 |
14,600 |
歩行用/T-2 |
    |
| 450 |
SMGL 15032 P=15 |
158,800 |
16,000 |
T-2 |
    |
| 450 |
SMGL 15038 P=15 |
187,700 |
17,600 |
T-2/T-6 |
    |
| 450 |
SMGL 15050 P=15 |
237,300 |
19,600 |
T-20 |
    |
※受枠は両側1m当りの価格です。
※価格には消費税は含まれておりません。
SMGL すきま9mm(P=13) 価格
みぞ幅 (mm) |
製品符号−呼称−メインバーピッチ |
価格 |
適用荷重 |
図面・施工要領書等 |
グレーチング (円/枚) |
受枠 (円/m) |
| 100 |
SMGL 11520 P=13 |
47,400 |
14,000 |
T-20 |
    |
| 150 |
SMGL 12020 P=13 |
56,800 |
14,000 |
T-20 |
    |
| 150 |
SMGL 12025 P=13 |
65,500 |
14,600 |
T-20 |
    |
| 150 |
SMGL 12032 P=13 |
82,400 |
16,000 |
T-20 |
    |
| 200 |
SMGL 12520 P=13 |
68,200 |
14,000 |
T-6/T-14 |
    |
| 200 |
SMGL 12525 P=13 |
79,300 |
14,600 |
T-20 |
    |
| 200 |
SMGL 12532 P=13 |
105,200 |
16,000 |
T-20 |
    |
| 250 |
SMGL 13020 P=13 |
77,900 |
14,000 |
T-2 |
    |
| 250 |
SMGL 13025 P=13 |
91,700 |
14,600 |
T-14 |
    |
| 250 |
SMGL 13032 P=13 |
114,500 |
16,000 |
T-20 |
    |
| 300 |
SMGL 13520 P=13 |
90,100 |
14,000 |
T-2 |
    |
| 300 |
SMGL 13525 P=13 |
107,000 |
14,600 |
T-2/T-6 |
    |
| 300 |
SMGL 13532 P=13 |
134,300 |
16,000 |
T-14/T-20 |
    |
| 300 |
SMGL 13538 P=13 |
158,600 |
17,600 |
T-20 |
    |
| 350 |
SMGL 14020 P=13 |
99,200 |
14,000 |
歩行用/T-2 |
    |
| 350 |
SMGL 14025 P=13 |
115,700 |
14,600 |
T-2 |
    |
| 350 |
SMGL 14032 P=13 |
147,200 |
16,000 |
T-14 |
    |
| 350 |
SMGL 14038 P=13 |
171,600 |
17,600 |
T-20 |
    |
| 400 |
SMGL 14520 P=13 |
115,700 |
14,000 |
歩行用/T-2 |
    |
| 400 |
SMGL 14525 P=13 |
137,900 |
14,600 |
T-2 |
    |
| 400 |
SMGL 14532 P=13 |
173,300 |
16,000 |
T-2/T-6 |
    |
| 400 |
SMGL 14538 P=13 |
205,300 |
17,600 |
T-14 |
    |
| 400 |
SMGL 14550 P=13 |
259,600 |
19,600 |
T-20 |
    |
| 450 |
SMGL 15020 P=13 |
120,900 |
14,000 |
歩行用/T-2 |
    |
| 450 |
SMGL 15025 P=13 |
140,800 |
14,600 |
歩行用/T-2 |
    |
| 450 |
SMGL 15032 P=13 |
180,200 |
16,000 |
T-2/T-6 |
    |
| 450 |
SMGL 15038 P=13 |
209,500 |
17,600 |
T-14/T-6 |
    |
| 450 |
SMGL 15050 P=13 |
268,200 |
19,600 |
T-20 |
    |
※受枠は両側1m当りの価格です。
※価格には消費税は含まれておりません。